EasyManua.ls Logo

Gemsy GEM1900A - Page 192

Default Icon
217 pages
Print Icon
To Next Page IconTo Next Page
To Next Page IconTo Next Page
To Previous Page IconTo Previous Page
To Previous Page IconTo Previous Page
Loading...
SC201(1900A/1903A) Operation Instruction
33
4) Register the value with key. Sewing LED goes off.
5) Press key to return to the normal state.
2. Setting the Soft Start Speed at the Sewing Start
The speed of the first stitch to the fifth stitch at the sewing start can be set in a unit of 100 rpm.
Two kinds of settings, in case of with needle thread clamp and without needle thread clamp can be
performed. (See Table of Functions of the Memory Switch.)
In case of needle thread clamp unit: rpm
State when deliveredrpm
Setting range
1
st
Stitch
1500
4001500
2
nd
Stitch
3000
4003000
3
rd
Stitch
3000
4003000
4
th
Stitch
3000
4003000
5
th
Stitch
3000
4003000
Setting Example: In case of with needle thread clamp, the speed is changed as follows.
1
st
stitch form 1,500 to 1,000 rpm and 2
nd
stitch form 3,000 to 2,000 rpm.
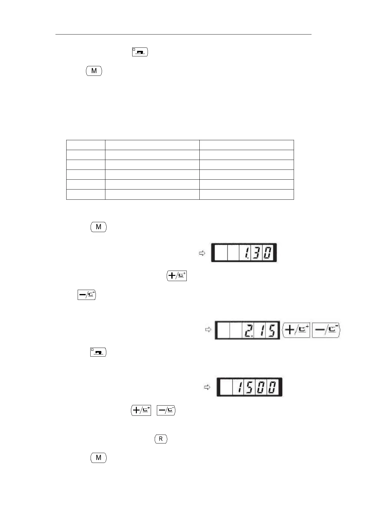
1) Press in the state that the sewing LED is put out.
2) Indicate memory switch No.2 with
or key. Here, set the sewing speed of
the first stitch.
3) Press key. The sewing LED lights up and
the set value of the first stitch is indicated.
4) Indicate “1000” with or key. The
value returns to the initial value at the time of
delivery from the factory with key.
Press key to cancel the operation here and

Table of Contents

Related product manuals