EasyManua.ls Logo

Servotronix CDHD2S - Page 66

Servotronix CDHD2S
268 pages
Print Icon
To Next Page IconTo Next Page
To Next Page IconTo Next Page
To Previous Page IconTo Previous Page
To Previous Page IconTo Previous Page
Loading...
驱动器设置
66
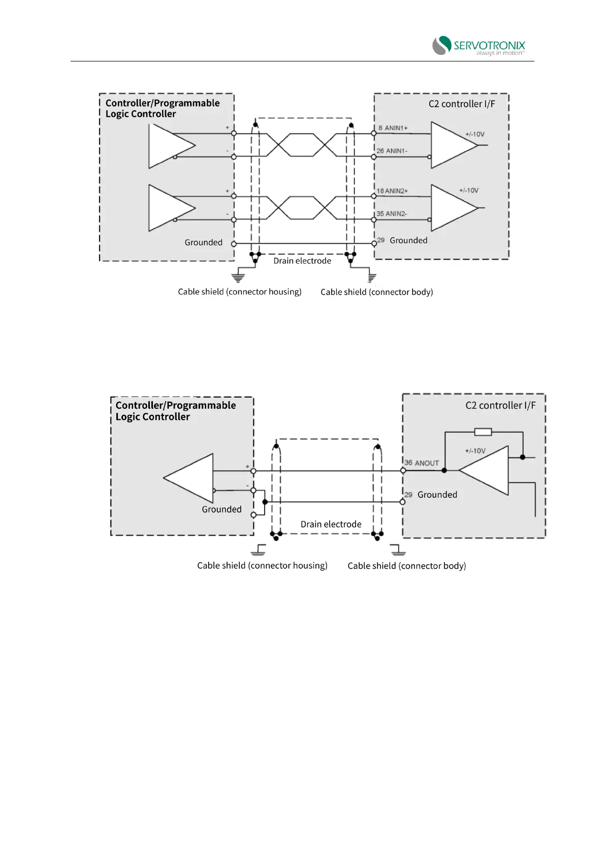
Figure 4-22 Analog input wiring - C
Figure 4-23 Analog output wiring - C2
Pulse and direction optoisolated wiring - C2
CDHD2S can connect DC voltage 24V single-ended signal PLC to the drive.
This type of signaling requires fast digital input on the CDHD2S controller interface (C2).
For this configuration, CDHD2S inputs 5 and 6 must be set to INMODE17 and 18 respectively.
(Applicable/approved in GEARMODE0, 1\2).
The pulse signal is connected to fast digital input 5 on pin 32.
The direction signal is connected to fast digital input 6 on pin 15.

Table of Contents

Related product manuals