EasyManua.ls Logo

Servotronix CDHD2S - Page 67

Servotronix CDHD2S
268 pages
Print Icon
To Next Page IconTo Next Page
To Next Page IconTo Next Page
To Previous Page IconTo Previous Page
To Previous Page IconTo Previous Page
Loading...
驱动器设置
67
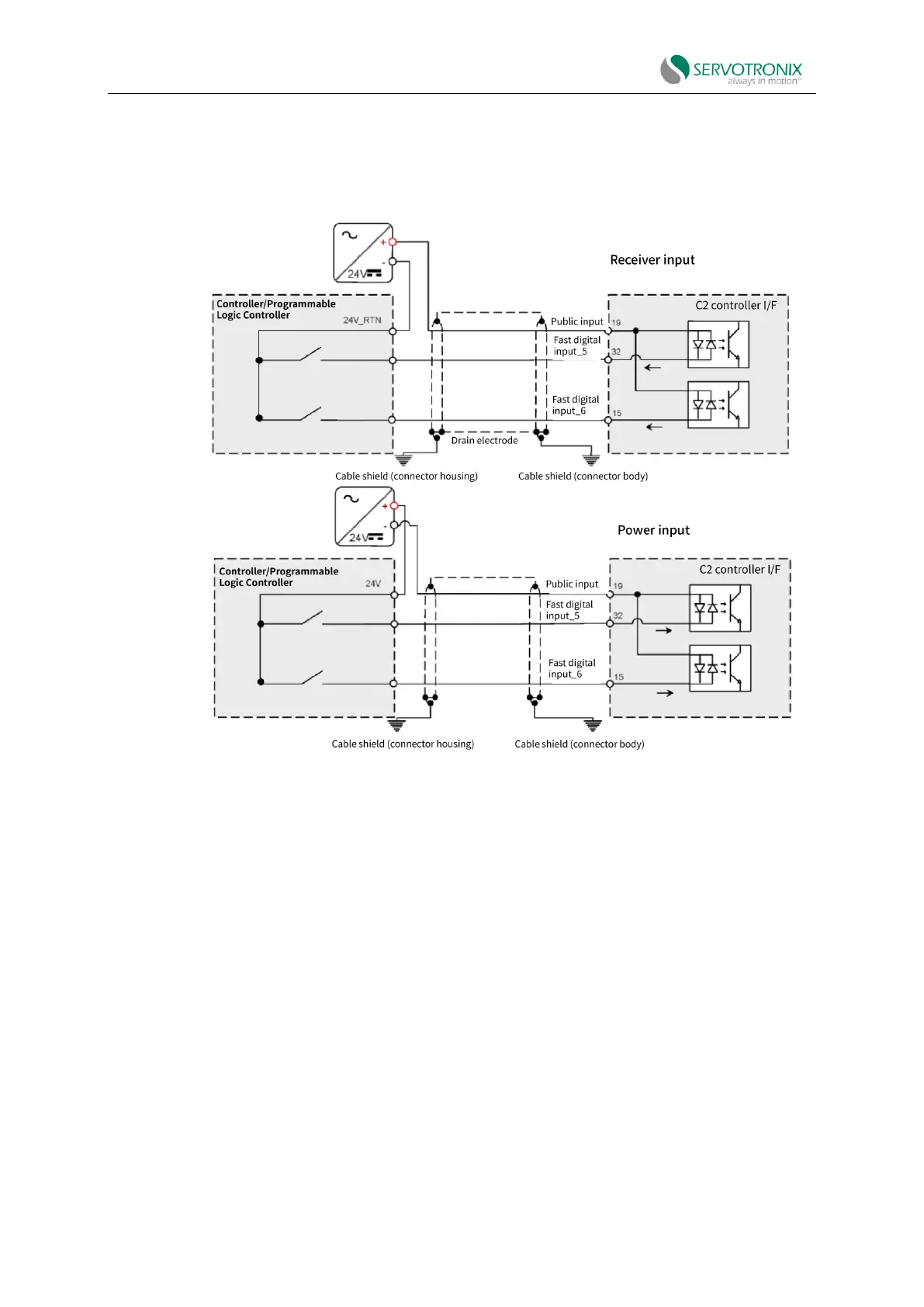
The cable shield on the PLC side can be connected to any available shielded connector.
The cable shield on the CDHD2S side can be connected to the housing of the 36-pin connector.
Note: The user should provide DC voltage 24V power supply.
Figure 4-24 Pulse and direction optoisolated input wiring - C2

Table of Contents

Related product manuals