EasyManua.ls Logo

Servotronix CDHD2S - Page 68

Servotronix CDHD2S
268 pages
Print Icon
To Next Page IconTo Next Page
To Next Page IconTo Next Page
To Previous Page IconTo Previous Page
To Previous Page IconTo Previous Page
Loading...
驱动器设置
68
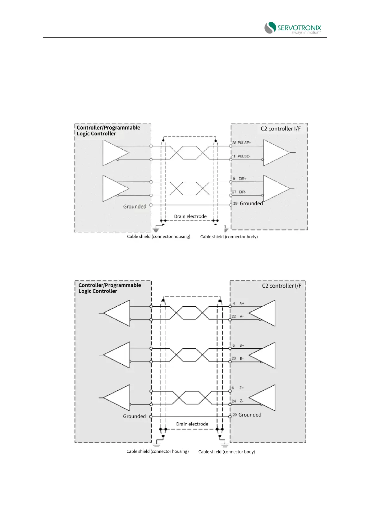
Pulse and direction optoisolated input wiring - C2
When using the CDHD2 controller interface (C2):
The pulse signal is received from the controller or PLC on pins 28 and 11.
The direction signal is received from the controller or PLC on pins 9 and 27.
Figure 4-25 Pulse and direction optoisolated input wiring - C2
Figure 4-26 Analog encoder equivalent output wiring - C2

Table of Contents

Related product manuals