EasyManua.ls Logo

MD Helicopters MD Explorer - Blend Repair; Left-Hand and Right-Hand Skid Tube Assemblies

MD Helicopters MD Explorer
2144 pages
Print Icon
To Next Page IconTo Next Page
To Next Page IconTo Next Page
To Previous Page IconTo Previous Page
To Previous Page IconTo Previous Page
Loading...
CSP900RMM2 MD Helicopters, Inc.
Rotorcraft Maintenance Manual
Page 802
Revision 35
32-00-00
9G32025B
18.5 INCH
(46.99 CM)
10 INCH
(25.40 CM)
12 INCH
(30.48 CM)
13 INCH
(33.02 CM)
DAMPER BOLT HOLE
(8 PL)
RIGHT SIDE TYPICAL
LEFT SIDE SHOWN
OPTIONAL SKID TUBE STEP
13 INCH
(33.02 CM)
ÉÉÉ
ÉÉÉ
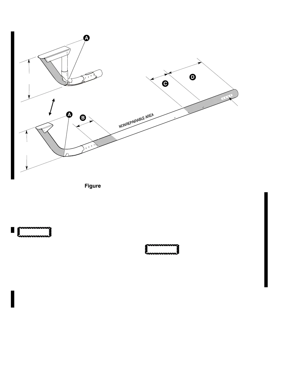
Figure 802. Skid Tube Repairable Sections
2. LeftHand and RightHand Skid Tube
Assemblies
A. Blend Repair
(Ref. Figure 802)
Do not remove material or do
the blend repair more than once
on a surface.
(1). Blend out nicks, scratches, or corrosion
in repairable sections A, B, C, and D
(ref. CSP-SPM, Section 20-40-00,
Mechanical Defects).
NOTE: Material removal and repair procedure
can be done one time only on a surface.
(a). Material removed from the surface of
Section A cannot be deeper than
0.010 inch (0.25 mm).
(b). Material removed from the surface of
Section B cannot be deeper than
0.010 inch (0.25 mm).
(c). Material removed from the surface of
Section C cannot be deeper than
0.025 inch (0.64 mm).
Do not remove material in Sec
tion D adjacent to the bolt holes
for the landing gear damper assembly.
(d). Material removed from the surface of
Section D cannot be deeper than
0.040 inch (1.02 mm).
(2). Refinish the blended area (ref. CSP-
SPM, Section 20-30-00).
CAUTION
CAUTION

Table of Contents

Related product manuals