EasyManua.ls Logo

MR ETOS IM - Page 82

MR ETOS IM
412 pages
Print Icon
To Next Page IconTo Next Page
To Next Page IconTo Next Page
To Previous Page IconTo Previous Page
To Previous Page IconTo Previous Page
Loading...
5 Mounting
Maschinenfabrik Reinhausen GmbH 201982 5163667/06 ENETOS
®
IM
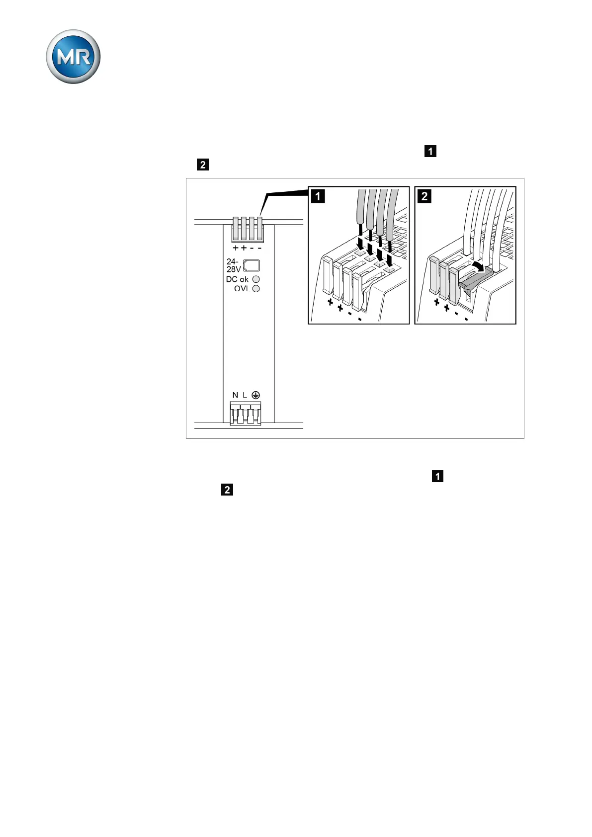
Connect the G1 (PULS) assembly in accordance with the connection dia-
gram:
1. Insert the leads into the corresponding connections and close the lever
.
Figure76: Inserting the leads
2. Insert the leads of the neutral conductor (N), phase conductor (L) and pro-
tective conductor into the corresponding connections and close the
lever .

Table of Contents

Related product manuals