EasyManua.ls Logo

Volvo VN - Panel E

Volvo VN
456 pages
Print Icon
To Next Page IconTo Next Page
To Next Page IconTo Next Page
To Previous Page IconTo Previous Page
To Previous Page IconTo Previous Page
Loading...
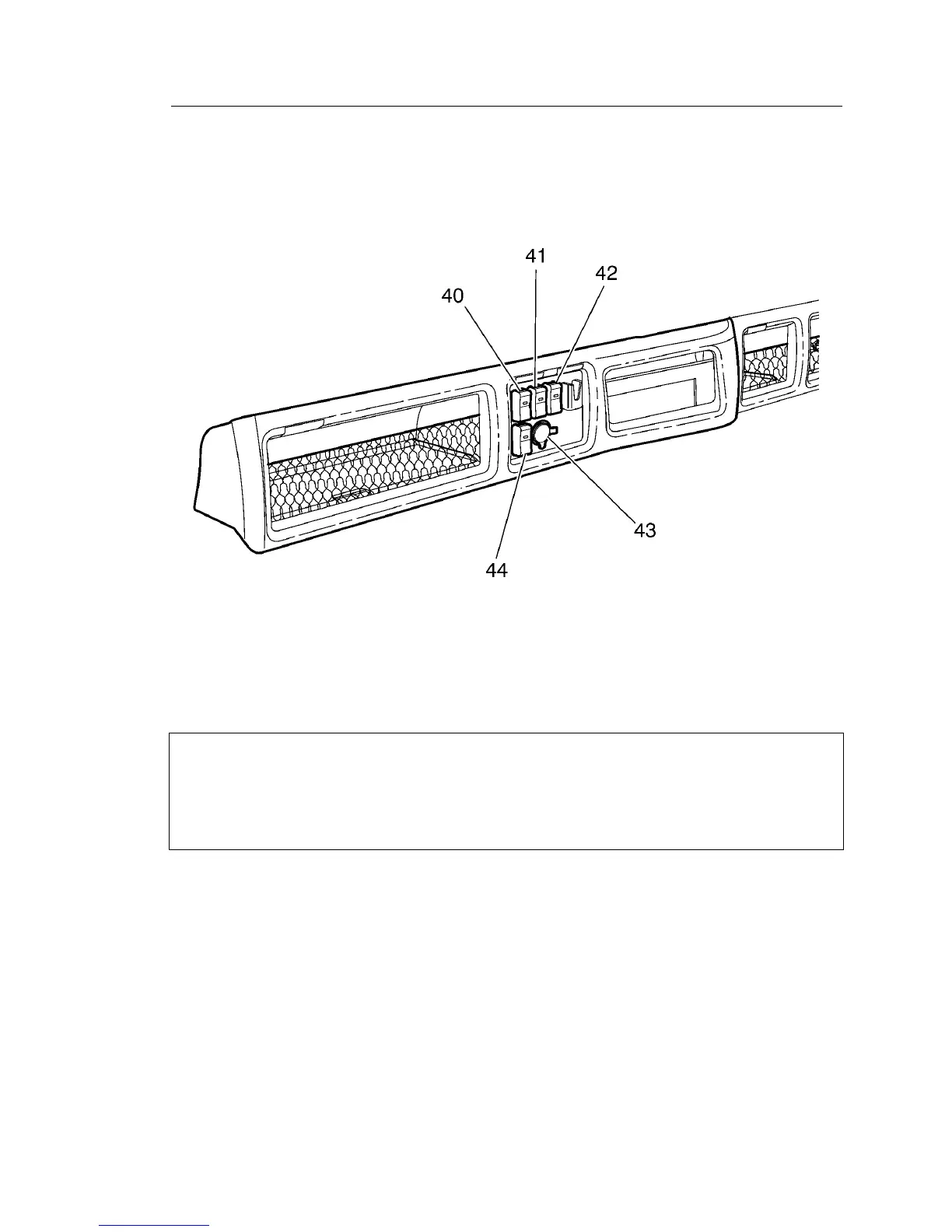
INSTRUMENTSANDCONTROLS61
PanelE
W3007474
40.ACInverter120V
41.OptionalSwitch
42.OptionalSwitch
43.PowerOutlet
44.Microphone
Beforedrivingthisvehicle,locatetheinstrumentsandcontrols,andbecome
thoroughlyfamiliarwiththeiroperation.Afterstartingandwhendriving,ensure
thattheinstrumentreadingsarenormal.
Note:Theinstrumentsandcontrolsshownwereavailableforthisvehicleatthetime
ofpublication.Dependingontheoptionsselected,allgaugesandtell-talesmaynot
beusedinallvehicles.
Note:ThedashlayoutisthesameforallV olvovehicles.However,theswitchesand
certainswitchpositionsaredifferentdependingonvehicleoptions.

Table of Contents

Other manuals for Volvo VN

Related product manuals