EasyManua.ls Logo

Bardac PLX - Page 211

Default Icon
235 pages
Print Icon
To Next Page IconTo Next Page
To Next Page IconTo Next Page
To Previous Page IconTo Previous Page
To Previous Page IconTo Previous Page
Loading...
Installation 211
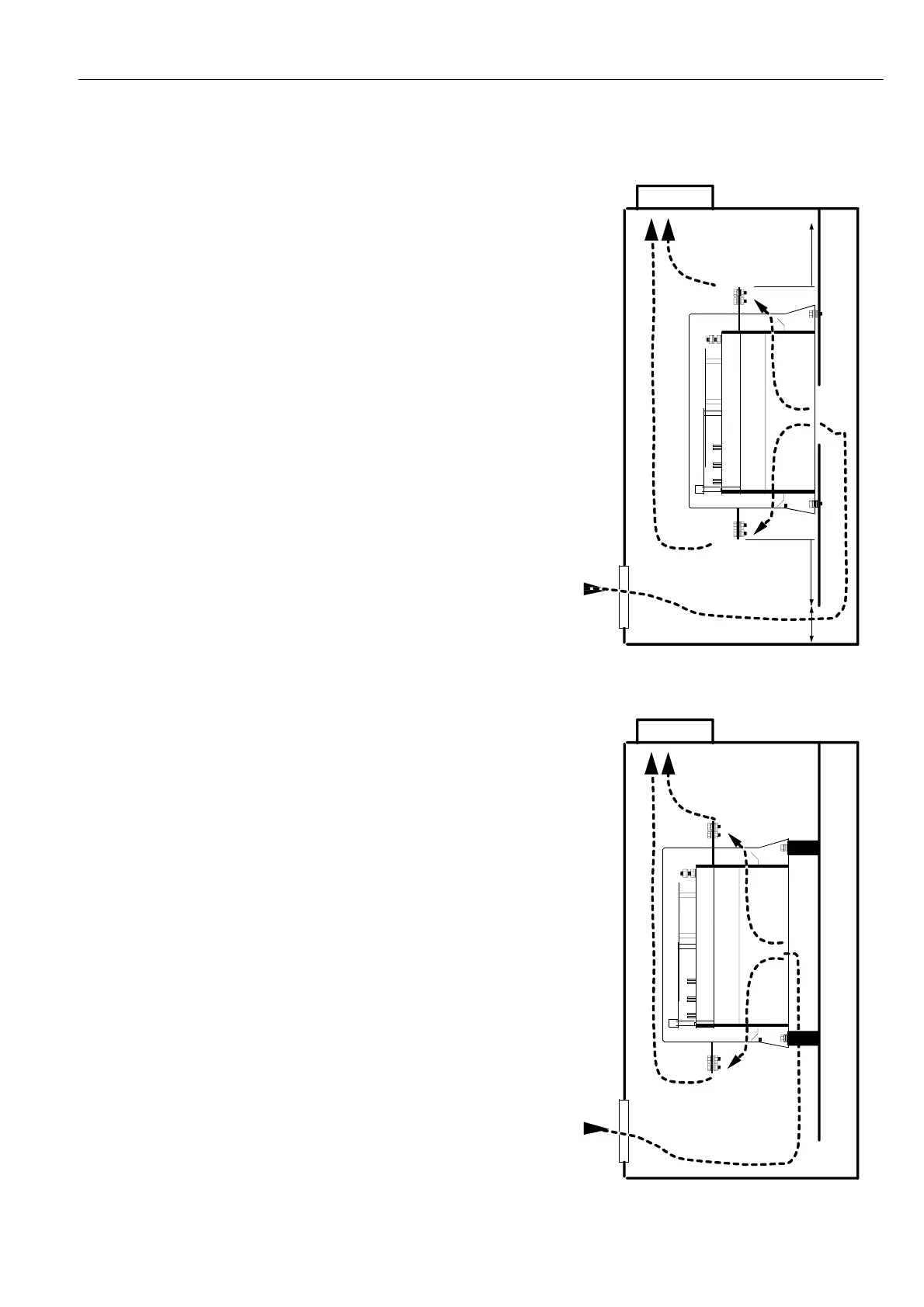
14.7.1.2 Venting models PL/X 185 - 265 using back panel aperture
Use the template provided to assist in cutting the aperture in the
back panel
This is the preferred method of mounting because it allo ws the
maximum amount of cool air to flo w over the heatsink of the
drive.
For installations requiring a 50C internal enclosure ambient this
method is necessary.
The source of clean, filtered, cool, dry air for venting the unit must
arrive at the bottom of the enclosure. It must then be able to flo w
freely to the rear of the backplate as sho wn. There must be no
obstructions to the flow of air on its journey to the back aperture.
There is a very po w erful fan integral to the PL/X w hich will suck
this air into the rear of the unit. After passing over the heatsink it
is exhausted at the top and bottom of the unit. The exhaust air
must then be extracted from the enclosure via roof mounted fans
capable of a throughput rate specified in the rating table. Note,
when calculating the required air throughput, it is necessary to
consider the dissipation of all heat generating components. The
dissipation in watts for the PL/X, main fuses and line reactors, is
provided in the relevant sections.
See 14.1 Product rating table.
14.7.1.3 Venting models PL/X 185 - 265 using standoff pillars
This method of mounting may be the only practical technique in
retrofit installations where cutting an aperture in the back panel is
not possible.
The unit is provided with a mounting kit consisting of four 50mm
pillars. The maximum enclosure ambient temperature using this
method is 35C. There must be no obstructions to the flow of air
on its journey to the rear of the PL/X.
The reason for the reduced ambient rating is that some of the
exhaust air may be recirculated over the heatsink, leading to a loss
of efficiency. Any steps that can be taken to minimise this are
advantageous. (The 35C rating applies to installations w here there
is not complete separation of the incoming air from the cooling
air).
If it is possible to provide an air duct with an aperture area of
greater than 180 sq. cm. that can transport air unimpeded to the
rear of the PL/X, then this solution is as effective as the back
panel aperture method described above.
Airflo w
Roof fans
Door mounted
air filter intake
Airflo w
Airflow
Back plate
1 0 0mm min
ex tension
Back plate
1 0 0mm min
ex tension
minimum gap 50 mm
Airflow
Roof fans
Door mounted
air filter intake
Airflow
Airflow
Back plate
Drive on 50mm
standoff pillars

Table of Contents