EasyManua.ls Logo

Gamatronic Power+ - Setup - Alarm Set Option; Figure 116: Main Menu Option 7 (Setup - Alarm Set); Figure 117: Level 1 Password Access

Gamatronic Power+
176 pages
Print Icon
To Next Page IconTo Next Page
To Next Page IconTo Next Page
To Previous Page IconTo Previous Page
To Previous Page IconTo Previous Page
Loading...
GAMATRONIC ELECTRONIC INDUSTRIES LTD.
78
POWER
+
PARALLEL
UPS,
USER GUIDE
,
REL
.
2.0
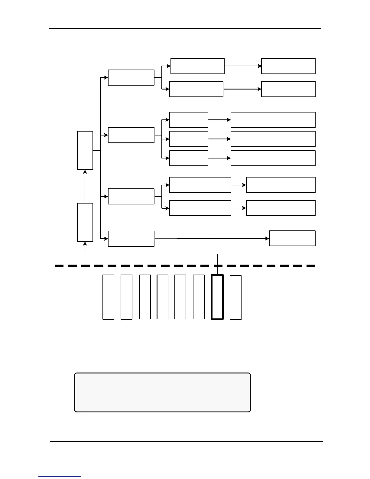
7.8 “Setup Alarm Set” Option
MAIN
MENU
OPTIONS
SYSTEM
UPS MODULE
SELFTEST
HISTORY
BATTERY
ALARM
SETUP
STATIC SW.
1) AC VOLT
2) FLOAT VOLT
7) Temperature
9) Integrat.
1) Set AC High &
Low Alarm Levels
2) Set AC Alarms
Hysteresis
AC alarm setup
◄►▲▼
Set AC volt alarms
hysteresis ◄►▲▼
1) BATEND
2) BATLOW
4) BAT-HI
Floating charge alarm setup:
voltage setting◄►▲▼
Floating charge alarm setup:
voltage setting◄►▲▼
Floating charge alarm setup:
voltage setting◄►▲▼
1) Over temperature
2) Under temperature
Set over temperature
alarm value ◄►▲▼
Set under temperature
alarm value ◄►▲▼
Set integration
factor ◄►▲▼
- - - Alarm Set SUBMENU OPTIONS - - -
1) Alarm Set
Password:
<<<<<<<<
Figure 116: Main Menu option 7 (“Setup Alarm Set”)
1. To enter Setup, use the default password <<<<<<<< (left arrow key eight times).
[Main Menu > SETUP]
POWER+ System Setup
Type in Level-1 PASSWORD, THEN – ENTER
Your privilege will expire after 15 min.
PASSWORD:________
Figure 117: Level 1 password access

Table of Contents

Related product manuals