EasyManua.ls Logo

Hitachi 902 - Analyzer Unit Unpack Manual

Hitachi 902
427 pages
Print Icon
To Next Page IconTo Next Page
To Next Page IconTo Next Page
To Previous Page IconTo Previous Page
To Previous Page IconTo Previous Page
Loading...
12 - 1
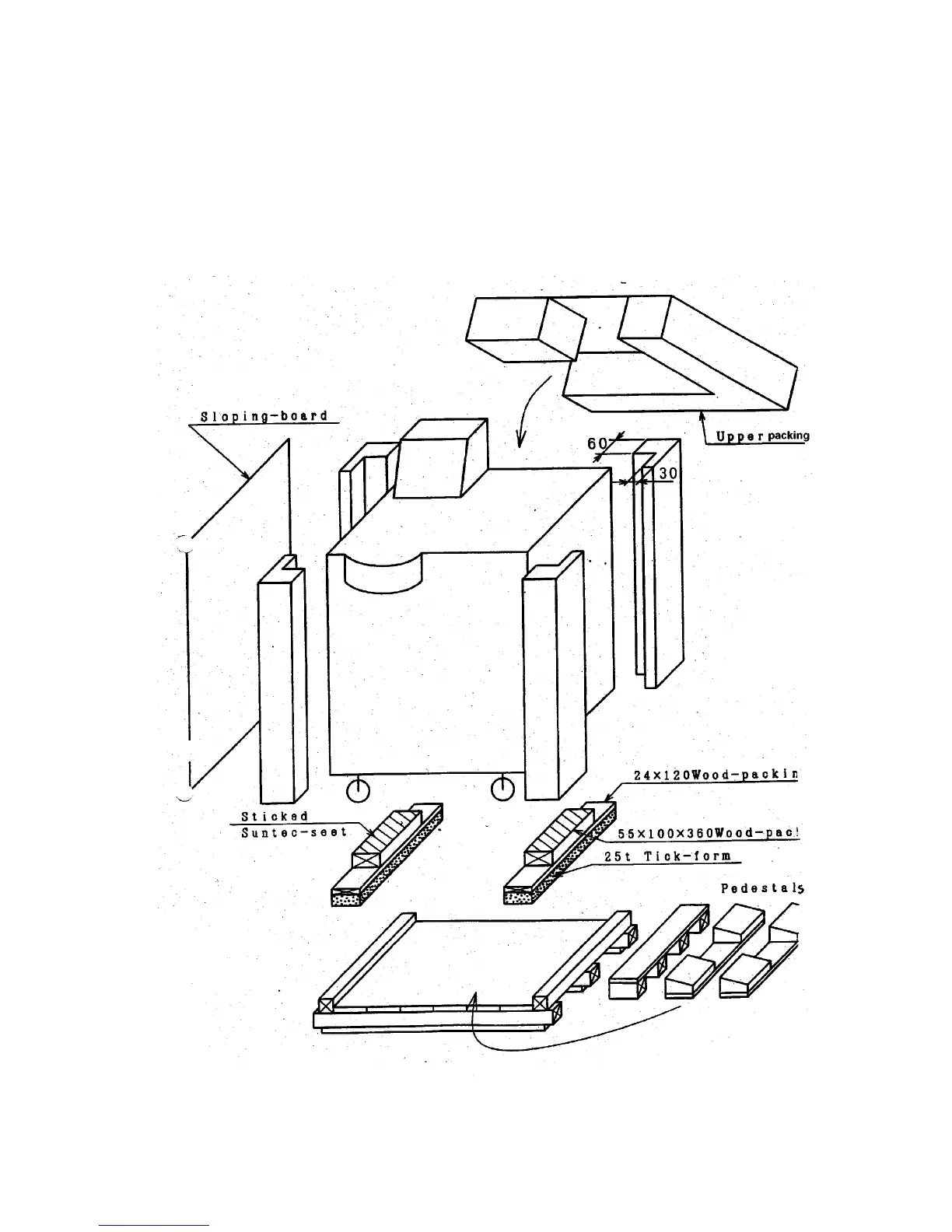
12. INSTALLATION
12.0 Analyzer unit unpack manual

Table of Contents

Related product manuals