EasyManua.ls Logo

Hitachi 902 - Configuration; Printer (FTP-020 UCS530-#01 A)

Hitachi 902
427 pages
Print Icon
To Next Page IconTo Next Page
To Next Page IconTo Next Page
To Previous Page IconTo Previous Page
To Previous Page IconTo Previous Page
Loading...
15 - 10
15.4 Printer (FTP-020UCS530-#01A)
15.4.1 Configuration
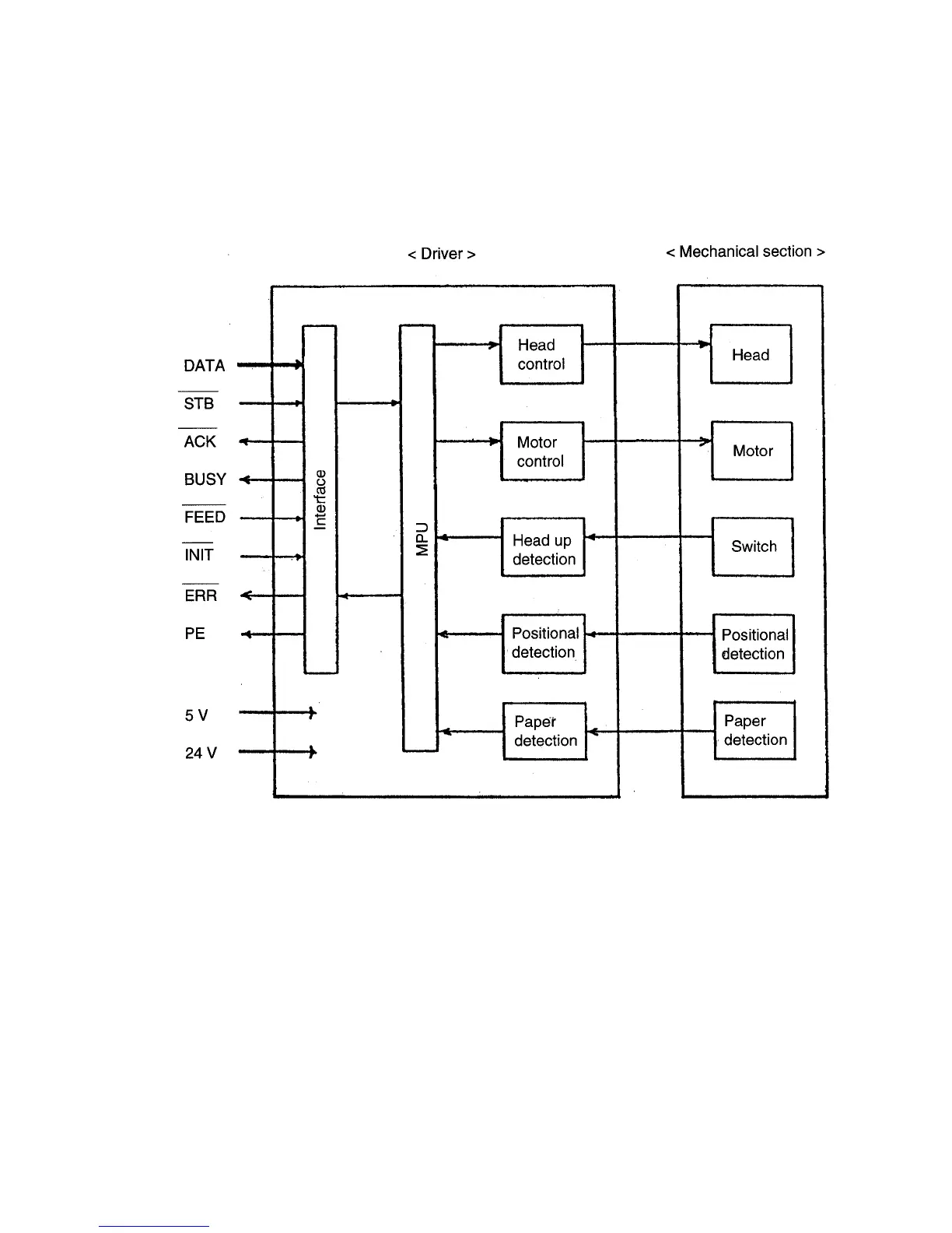
This printer consists of mechanical section and driver.

Table of Contents

Related product manuals