EasyManua.ls Logo

Intermac Primus 184 - Maintenance of the machining water recirculation system

Default Icon
132 pages
Print Icon
To Next Page IconTo Next Page
To Next Page IconTo Next Page
To Previous Page IconTo Previous Page
To Previous Page IconTo Previous Page
Loading...
11 Routine and special maintenance
76
BIESSE S.p.A. © - p714k0003.fm251111
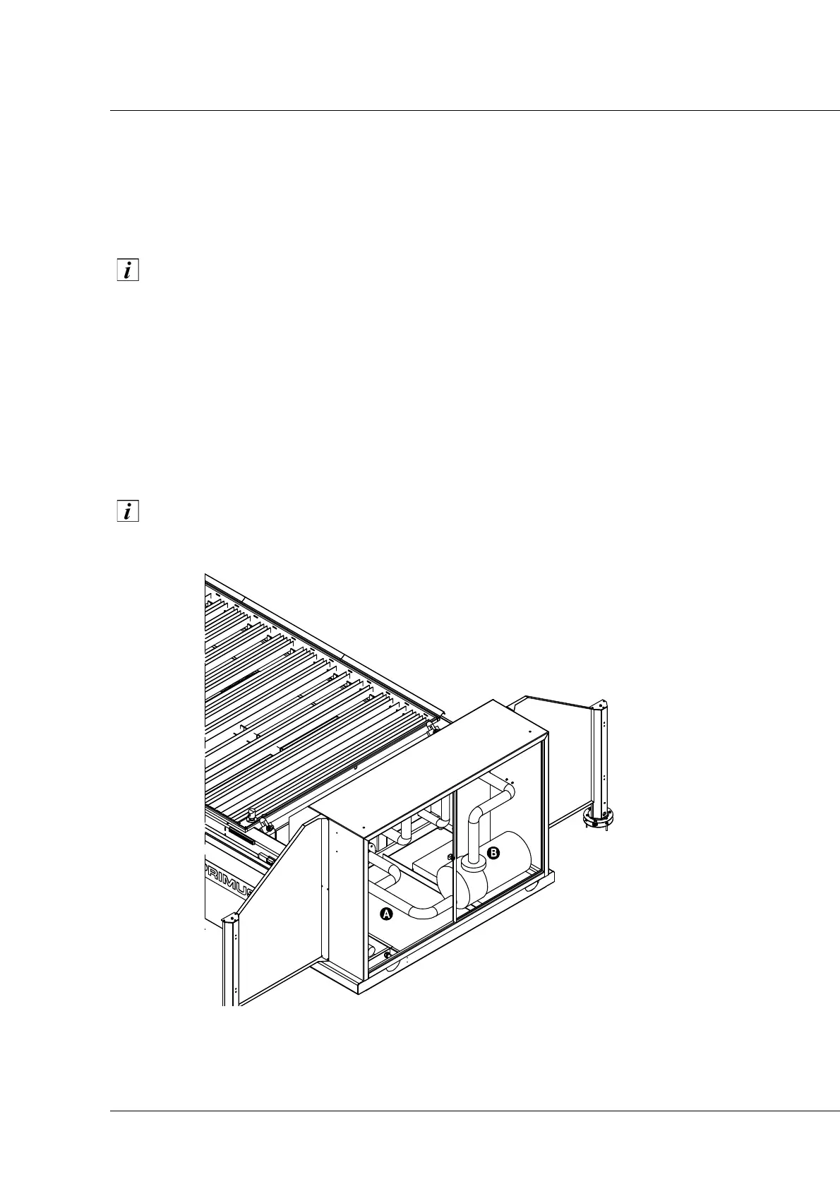
Maintenance of the machining water recirculation system
The recirculation system separates the solid parts from the machining water. The main parts of this
system are the pump, the centrifugation separator, and the solids recovery unit (optional).
Maintenance interventions must only be carried out with the system switched off, unless
indicated otherwise.
Every day, check the level of the solid waste that accumulates in the drainage bag (if present). If
necessary, replace it and dispose of it in accordance with the local and national regulations in
force.
Every day, check the level of lubricant in the tank B on the upper part of the pump. This check must
be carried out with the system operating.
Top up the level with an oil such as “Mobil Vactra Heavy” or “BP Energol HLP-HM100”.
Every year, replace the used oil and check for any water infiltrations; check the oil is not highly
emulsified.
If you notice any anomalies, contact the manufacturer.
Never fill the tank right to the top.
Every month, clean out the suction filter A, removing the cap with the key supplied (or manually on
models with knobs).

Table of Contents