EasyManua.ls Logo

Invacare LiNX - Mounting the Micro Extremity Control Joystick

Invacare LiNX
152 pages
Print Icon
To Next Page IconTo Next Page
To Next Page IconTo Next Page
To Previous Page IconTo Previous Page
To Previous Page IconTo Previous Page
Loading...
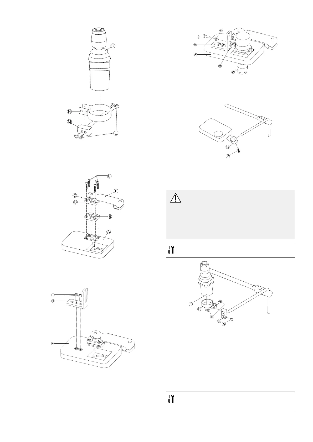
Assembly
1.
Fig.3-65
InsertjoystickOinclampN,pullclampoveradapter
blockMandxwithscrewsL.
2.
Fig.3-66
InsertclampplateBintocutoutontrayA.
3.FixclampplateB,clampballCandupperclamp
plateDwithscrewsE.
4.
Fig.3-67
MountanglebracketHwithscrewsItotrayA.
5.
Fig.3-68
InsertremoteOintotrayA.
6.FixadapterblockMtoanglebracketHwithscrewJ
andwasherK.
7.
Fig.3-69
PullhitchmountGovernucleusandtightenwith
screwP.
NucleusOnlyMount
CAUTION!
RiskofInjuryandDamage
Remainingburrsandmissingendcapsafter
modicationsonrods,suchasshortenedrod,
canleadtoinjuryordamage.
Deburrcutaftercuttingexcessivelength.
Re-installendcapafterdeburring.
Checkendcapfortighttting.
1/8inchAllenkey
5/32inchAllenkey
Fig.3-70
1.PulladapterblockBovernucleusandtightenwith
screwA.
2.InsertremoteEintoclampD.
3.MountclampDtoadapterblockBwithscrewsC.
3.12.3MountingtheMicroExtremityControl
Joystick
LateralTrayMount
1/8inchAllenkey
5/32inchAllenkey
3/16inchAllenkey
1605129-G
47

Table of Contents

Related product manuals