EasyManua.ls Logo

Schweitzer Engineering Laboratories SEL-701 - Motor Running Protection; Figure E.5 Motor Running Thermal Element with Resistance and Trip Level Undefined; Figure E.6 Calculating the Normal Operating Energy Using Locked Rotor Trip Times

Schweitzer Engineering Laboratories SEL-701
468 pages
Print Icon
To Next Page IconTo Next Page
To Next Page IconTo Next Page
To Previous Page IconTo Previous Page
To Previous Page IconTo Previous Page
Loading...
Date Code 20010719 701 Motor Protection Relay
Motor Thermal Element
Motor Running Protection
E.9
Motor Running Protection
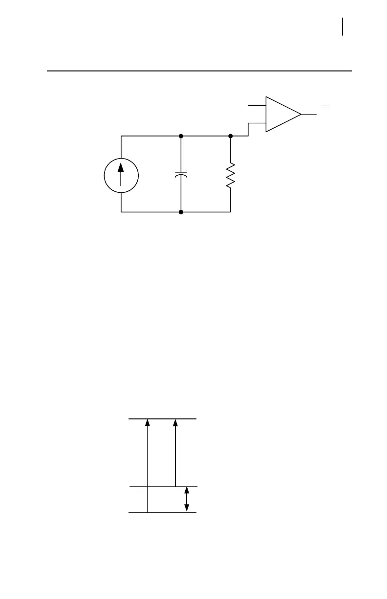
Figure E.5 Motor Running Thermal
Element With Resistance and Trip Level Undefined.
When the motor is running, it returns heat energy to its surroundings through
radiation, conduction, convection, and, in some cases, using forced cooling. The motor
running thermal element provides a path for that energy return through the resistor, R,
in Figure E.5.
To determine the value of that resistor, recall that the motor will reach an energy
level representing its rated operating temperature when 1 per unit of positive sequence
current flows in the motor for a long time. Since the positive-sequence heat factor, K
1
,
is 1 in the running model, and 1 per unit of I
1
squared equals 1, the value of resistor R
equals the energy level representing the motor rated operating temperature.
To determine the normal operating energy, recall that many motor datasheets
publish two locked rotor trip times: one longer time when the motor is started from
ambient temperature (referred to as Ta) and one shorter time when the motor is started
from operating temperature (To).
Figure E.6 Calculating the Normal
Operating Energy Using Locked Rotor Trip Times.
49T
Thermal Trip Level
_
+
I
1
2
+ 5 I
2
2
U
3R
Relay
Word
Bit
I
L
2
Ta I
L
2
To
Normal Operating Energy
I
L
2
(Ta - To)
Base or Ambient Energy
Locked Rotor Trip Energy

Table of Contents

Related product manuals