EasyManua.ls Logo

Schweitzer Engineering Laboratories SEL-701 - Figure 4.4 Ground Fault Currents Using a Window

Schweitzer Engineering Laboratories SEL-701
468 pages
Print Icon
To Next Page IconTo Next Page
To Next Page IconTo Next Page
To Previous Page IconTo Previous Page
To Previous Page IconTo Previous Page
Loading...
701 Motor Protection Relay Date Code 20010719
Settings Calculation
Basic Motor Protection
4.24
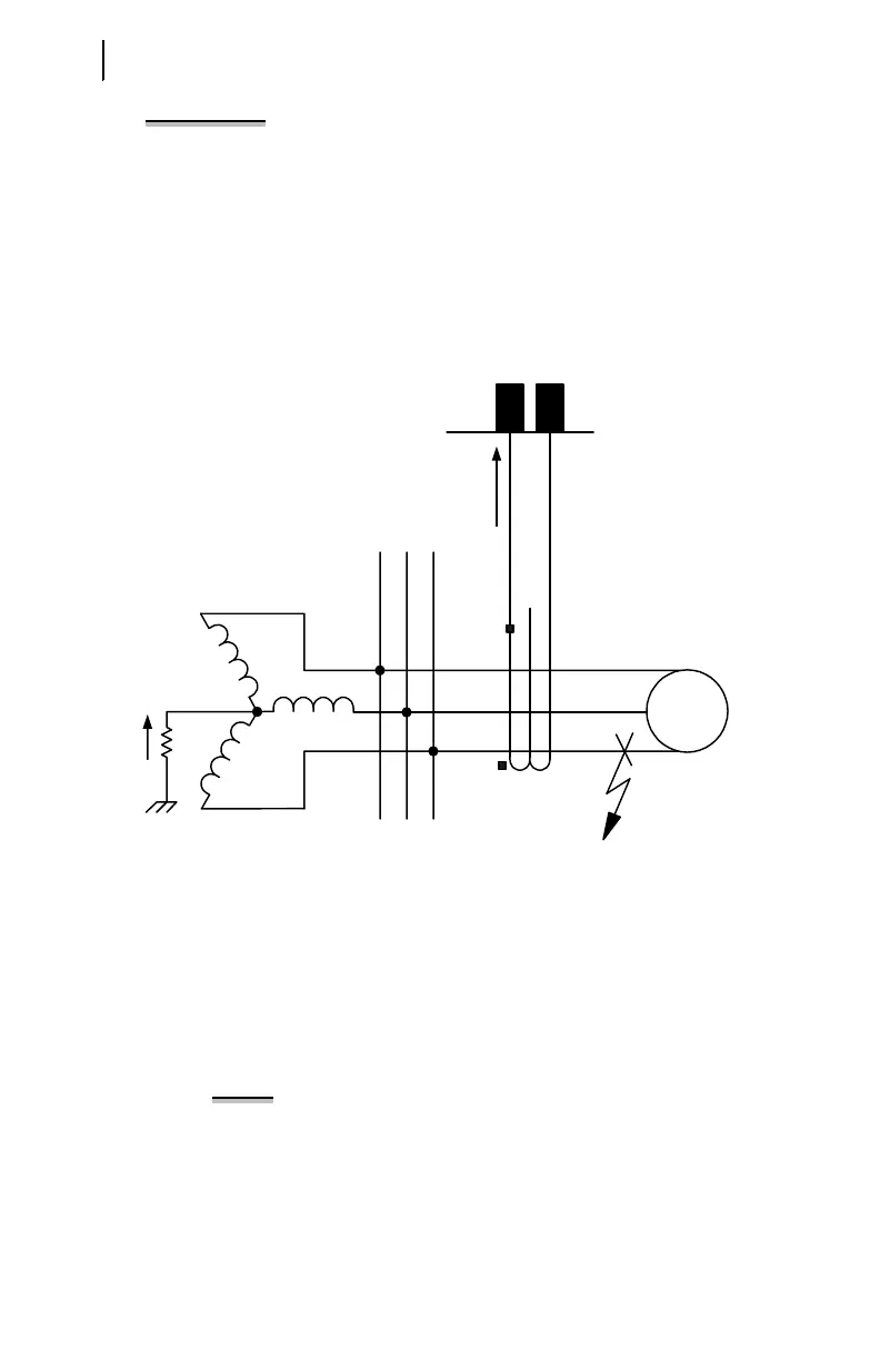
EXAMPLE 4.8 Ground Fault CT Application
A resistance-grounded transformer limits the current for motor or
cable ground faults. The resistor is sized to limit the current to 10 A
primary. The three motor leads are passed through the window of
a 10:1 CT. The CT secondary is connected to the SEL-701 Relay 1 A
IN current input, as shown in
Figure 4.4. The relay IN input
measures 1 A for a motor or cable ground fault. Setting the Level 1
Neutral O/C Pickup (50N1P) equal to 0.5 A with 0.10 second time
delay ensures that the element will quickly detect and trip for
motor ground faults, but prevent misoperation due to unequal
breaker or contactor pole closing times.
Figure 4.4 Ground Fault Currents Using a Window CT.
When a ground fault CT is not available, either use the 50G residual overcurrent
elements or connect the IN input residually, as in Figure 2.7 on page 2.8 in Section 2:
Installation. Set the Level 1 O/C Pickup between one-half and one-fifth of the full load
phase current and set the Level 1 Time Delay equal to 0.2 seconds. Set the Level 2 ele-
ment more sensitively, but with a longer time delay. The long time delay allows the
sensitive Level 2 element to ride through the false residual current that can be caused
by phase CT saturation during motor starting.
NOTE: Phase CT ratios are typically higher than ground CT
ratios. For this reason, the relay sensitivity to motor ground
faults is less when IN is connected residually than if IN is
connected to the secondary winding of an appropriate
ground CT. A separate ground fault detection method should
be used if a ground CT is not available in applications where
resistance grounding reduces available ground fault current.
10A
C-Ground Fault
10A
A BC
1A
10:1
Window CT
E12
E11
Motor

Table of Contents

Related product manuals