EasyManua.ls Logo

Schweitzer Engineering Laboratories SEL-701 - Relay Mounting; Figure 2.3 SEL-701 Relay Panel Mounting Detail

Schweitzer Engineering Laboratories SEL-701
468 pages
Print Icon
To Next Page IconTo Next Page
To Next Page IconTo Next Page
To Previous Page IconTo Previous Page
To Previous Page IconTo Previous Page
Loading...
701 Motor Protection Relay Date Code 20010719
Installation
Relay Mounting
2.4
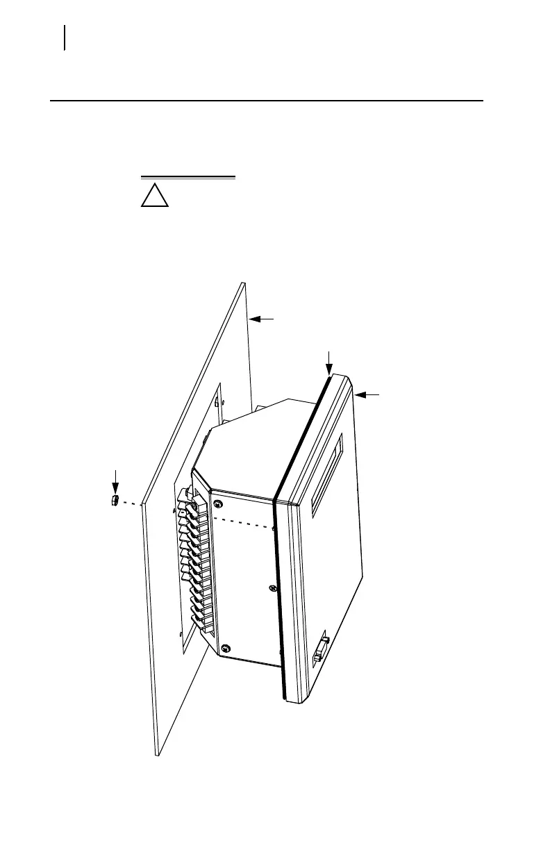
Relay Mounting
Mount the relay in the prepared panel cutout using the four mounting studs and
the locknuts provided. Tighten the four nuts until snug (1015 in/lb torque); be careful
not to overtighten. Tightening these nuts causes the rubber weather seal to compress in
the channel, pressing against the panel and sealing the cutout.
!
WARNING: Overtightening the mounting nuts may
permanently damage the relay chassis.
After mounting the relay, you may remove the protective film that covers the rear
panel. This film is meant to protect the relay finish during installation and is not
required by the relay in operation.
Figure 2.3 SEL-701 Relay Panel Mounting Detail.
Mounting Panel
Weather Gasket
Relay
6-32
Self-Locking Nut
(4 places)

Table of Contents

Related product manuals