EasyManua.ls Logo

Siemens SIMATIC ET 200X - Dimensioned Drawings - DIN Rails

Siemens SIMATIC ET 200X
362 pages
Print Icon
To Next Page IconTo Next Page
To Next Page IconTo Next Page
To Previous Page IconTo Previous Page
To Previous Page IconTo Previous Page
Loading...
Dimesioned Drawings and Pinouts
C-9
ET 200X Distributed I/O Device
EWA 4NEB 780601602-06
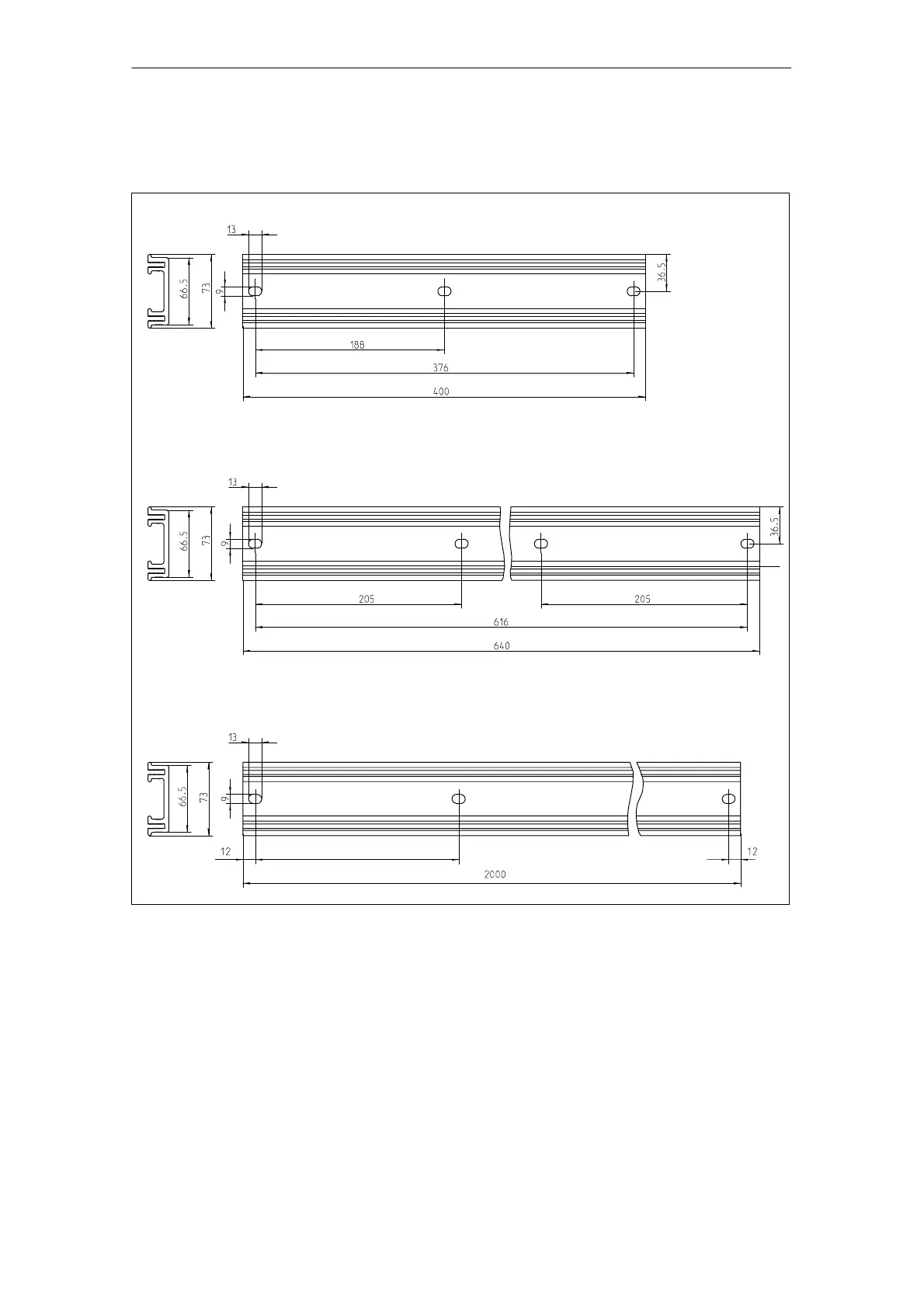
C.7 Dimensioned drawings DIN rails
6ES7 194-1GA00-0XA0
6ES7 194-1GA10-0XA0
6ES7 194-1GA20-0XA0
(without mounting holes)
Max. 200
Figure C-9 Dimensioned drawings of the Narrow DIN rails

Table of Contents

Related product manuals