EasyManua.ls Logo

SYNAPTICON SOMANET Circulo 7 - Page 652

Default Icon
1031 pages
Print Icon
To Next Page IconTo Next Page
To Next Page IconTo Next Page
To Previous Page IconTo Previous Page
To Previous Page IconTo Previous Page
Loading...
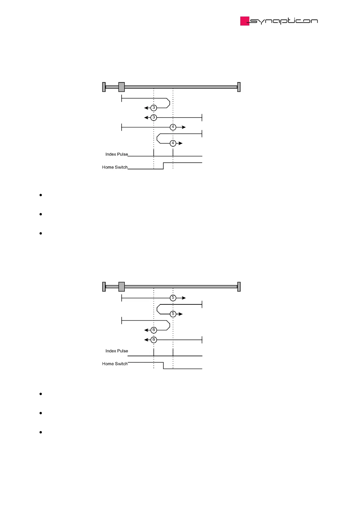
3.1.8.2.3.2.1.3 Homing Method 3,4 : Homing on a Positive Home Switch and Index Pulse
The initial direction of movement is dependent on the state of the home switch: leftward if positive home
switch active and rightward if it’s inactive.
Method 3: the home position is the first index to the left when the positive home switch changes state
(home switch inactive).
Method 4: the home position is the first index to the right when the positive home switch changes state
(home switch active).
3.1.8.2.3.2.1.4 Homing Method 5,6 : Homing on a Negative Home Switch and Index Pulse
The initial direction of movement is dependent on the state of the home switch: leftward if negative home
switch inactive and rightward if it’s active.
Method 5: the home position is the first index to the right when the negative home switch changes state
(home switch inactive).
Method 6: the home position is the first index to the left when the negative home switch changes state
(home switch active).
Synapticon Documentation
© 2021 Synapticon GmbH | Daimlerstraße 26 | D-71101 Schönaich Documentation v 4.19.0 | Built 2022-02-01 652/1031

Table of Contents