EasyManua.ls Logo

SYNAPTICON SOMANET Circulo 7 - Page 654

Default Icon
1031 pages
Print Icon
To Next Page IconTo Next Page
To Next Page IconTo Next Page
To Previous Page IconTo Previous Page
To Previous Page IconTo Previous Page
Loading...
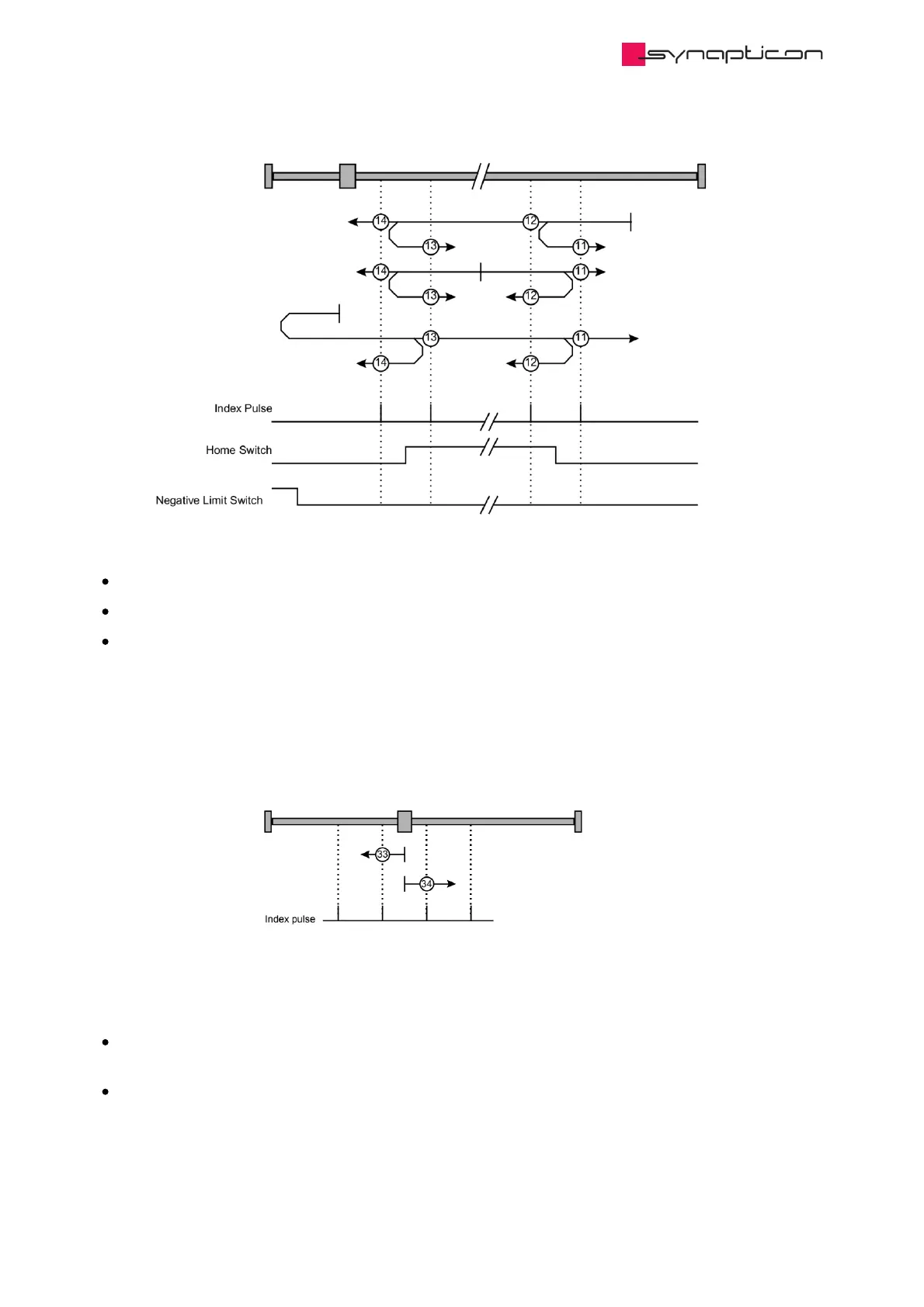
The initial direction of the movement is leftward except if home switch is initially active.
The direction will be reversed when encountering the negative limit switch.
If the home switch is initially active then the direction of movement depends on the homing method.
3.1.8.2.3.2.2 Homing method 33/34 (move to next or previous single-turn position
or “index pulse”)
Methods 33 and 34 can be used to center on the sensor’s reference position (in positive or negative
direction).
The shaft will rotate less than one rotation.
Synapticon Documentation
© 2021 Synapticon GmbH | Daimlerstraße 26 | D-71101 Schönaich Documentation v 4.19.0 | Built 2022-02-01 654/1031

Table of Contents