EasyManua.ls Logo

Xerox ColorQube 9301

Xerox ColorQube 9301
1812 pages
To Next Page IconTo Next Page
To Next Page IconTo Next Page
To Previous Page IconTo Previous Page
To Previous Page IconTo Previous Page
Loading...
February 2013
5-14
ColorQube® 9303 Family
PL 10.12
Parts Lists
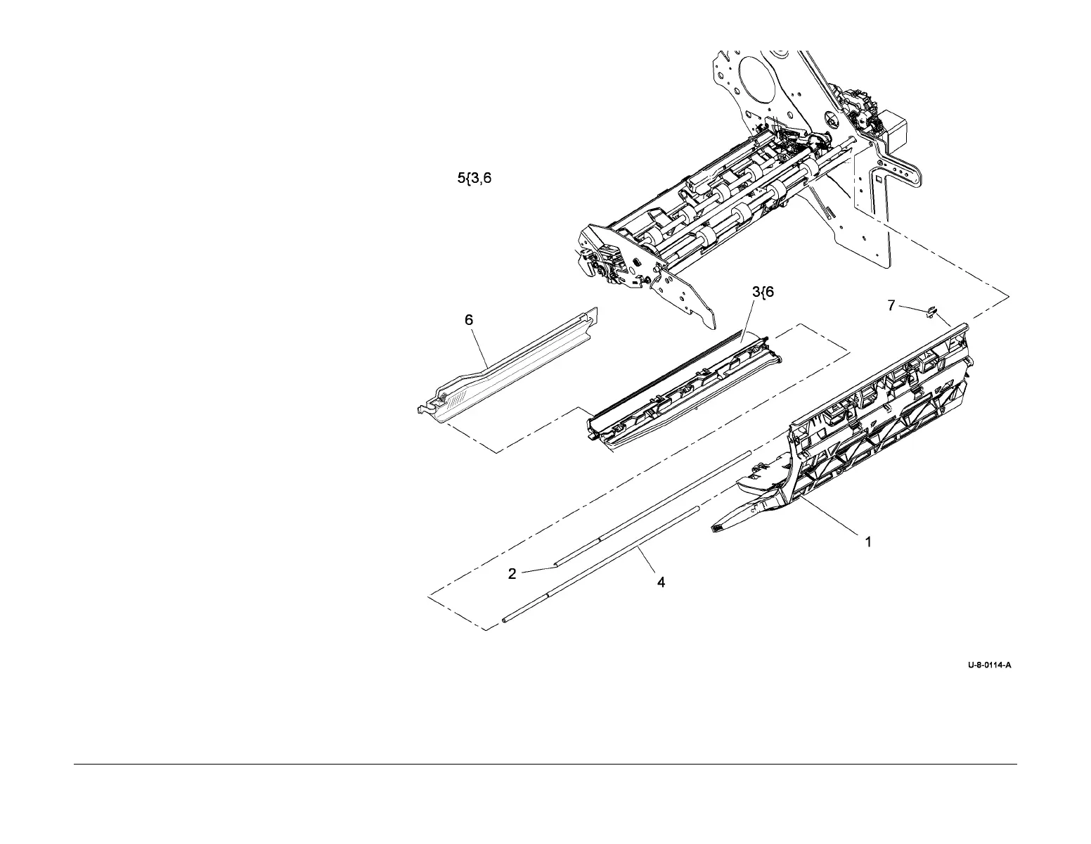
PL 10.12 Stripper System (2 of 2)
Item Part Description
1 055K43271 Stripper gate and baffle assembly
(REP 10.21)
2 Gate and baffle shaft (Not spared)
3 Stripper blade assembly (P/O PL
10.12 Item 5) (See NOTE) (REP
10.21)
4 Stripper shaft (Not spared)
5 604K73430 Stripper blade kit
6 Stripper blade retaining tool (P/O
PL 10.12 Item 5)
7 Grounding strip (Not spared)
NOTE: Supplied with a stripper retaing tool, PL 10.12 Item 6.

Table of Contents

Other manuals for Xerox ColorQube 9301

Related product manuals