EasyManua.ls Logo

Yamaha F40B - Checking the Valve Guide; Replacing the Valve Guide

Yamaha F40B
285 pages
Print Icon
To Next Page IconTo Next Page
To Next Page IconTo Next Page
To Previous Page IconTo Previous Page
To Previous Page IconTo Previous Page
Loading...
POWR
Power unit
5-31 67C3K11
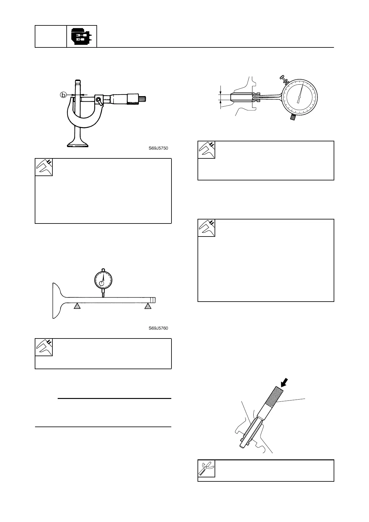
3. Measure the valve stem diameter b.
Replace the valve if out of specification.
4. Measure the valve stem runout. Replace
the valve if above specification.
Checking the valve guide
NOTE:
Before checking a valve guide, make sure
that the valve stem diameter is within specifi-
cation.
1. Measure the valve guide inside diameter
a.
2. Calculate the valve-stem-to-valve-guide
clearance as follows. Replace the valve
guide if out of specification.
Replacing the valve guide
1. Remove the valve seal.
2. Insert the special service tool 1 into the
combustion chamber end of the valve
guide 2, and then strike the tool to drive
the guide out of the cylinder head.
Valve stem diameter b:
Intake:
5.4755.490 mm
(0.21560.2161 in)
Exhaust:
5.4605.475 mm
(0.21500.2156 in)
Valve stem runout limit:
Intake: 0.030 mm (0.0012 in)
Exhaust: 0.016 mm (0.0006 in)
Valve guide inside diameter a:
Intake and exhaust:
5.5005.512 mm
(0.21650.2170 in)
Valve-stem-to-valve-guide clearance
= valve guide inside diameter valve
stem diameter:
Intake:
0.0100.037 mm
(0.00040.0015 in)
Exhaust:
0.0250.052 mm
(0.00100.0020 in)
Valve guide remover/installer 1:
90890-06801
S6AU5085
a
S67C5081
2 1

Table of Contents

Other manuals for Yamaha F40B

Related product manuals