EasyManua.ls Logo

Yamaha F40B - Assembling the Propeller Shaft Housing Assembly

Yamaha F40B
285 pages
Print Icon
To Next Page IconTo Next Page
To Next Page IconTo Next Page
To Previous Page IconTo Previous Page
To Previous Page IconTo Previous Page
Loading...
LOWR
Lower unit
6-9 67C3K11
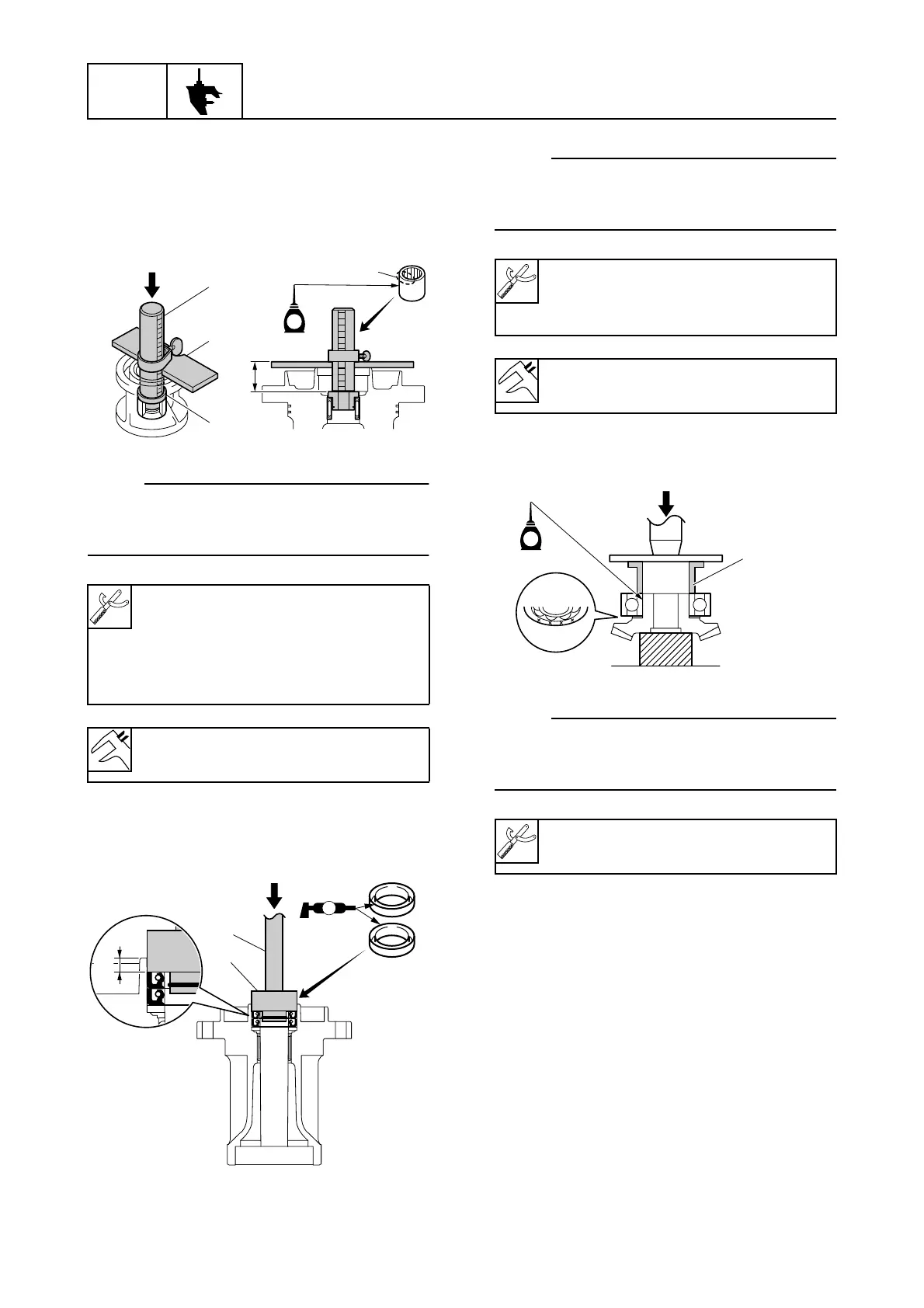
Assembling the propeller shaft
housing assembly
1. Install a new needle bearing into the pro-
peller shaft housing to the specified
depth a.
NOTE:
Install the needle bearing with the manufac-
ture identification mark b facing toward the
oil seal (propeller side).
2. Apply grease to new oil seals, and then
install them into the propeller shaft hous-
ing to the specified depth c.
NOTE:
Install an oil seal halfway into the propeller
shaft housing, and then install the other oil
seal.
3. Install a new ball bearing and original
shim(s) onto the reverse gear.
NOTE:
Install the ball bearing with the manufacture
identification mark facing toward the reverse
gear.
4. Install the reverse gear assembly into the
propeller shaft housing.
Driver rod SS 1: 90890-06604
Needle bearing attachment 2:
90890-06614
Bearing depth plate 3:
90890-06603
Installation depth a:
23.524.0 mm (0.930.94 in)
S67C6020
b
a
1
2
3
G
S67C6022
AA
4
5
c
Driver rod LS 4: 90890-06606
Ball bearing attachment 5:
90890-06637
Installation depth c:
4.04.5 mm (0.160.18 in)
Bearing inner race attachment 6:
90890-06639
S67C6024
6
G

Table of Contents

Other manuals for Yamaha F40B

Related product manuals