EasyManua.ls Logo

Azbil C1M - Page 243

Azbil C1M
306 pages
Print Icon
To Next Page IconTo Next Page
To Next Page IconTo Next Page
To Previous Page IconTo Previous Page
To Previous Page IconTo Previous Page
Loading...
9-5
Chapter 9. PLC Link Communication Function
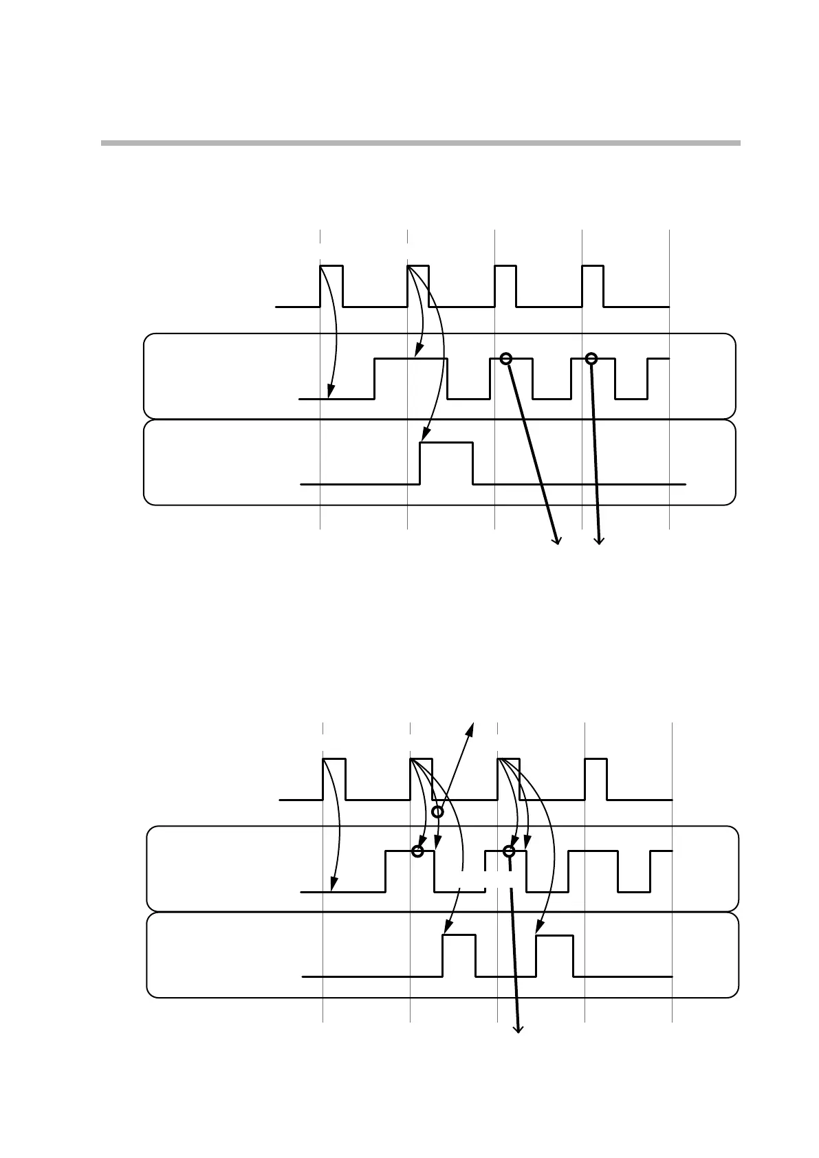
The triggered transfer scan cycle and triggered data transfer operations are as
follows.
Data transfer is started for all sheets for which trigger device = ON is detected.
Triggered transfer scan cycle
Trigger device
(ON/OFF by PLC)
Triggered data
transfer sheet 1
ON
OFF
Processing
Stopped
“Trigger ON” cannot be detected if the trigger device is turned
on and o by PLC on a cycle shorter than the scan cycle.
OFF conrmation ON conrmation
When the [Trigger device initialization] setting is [Yes], the trigger device is turned
off immediately after the trigger is detected. If the trigger device is turned off by
the trigger device initialization function, its status is the same as when the C1M
confirms that the trigger device is off. Therefore if the trigger device is turned on, it
is detected in the next trigger device scan.
Triggered transfer scan cycle
Trigger device initialization
Trigger device
Triggered data
transfer sheet 1
ON
OFF
Processing
Stopped
OFF conrmation ON conrmation ON conrmation
When the trigger device is turned o by the trigger device
initialization function, the next trigger will be detected.
OFF conrmed

Table of Contents

Related product manuals