EasyManua.ls Logo

Azbil C1M - Page 53

Azbil C1M
306 pages
Print Icon
To Next Page IconTo Next Page
To Next Page IconTo Next Page
To Previous Page IconTo Previous Page
To Previous Page IconTo Previous Page
Loading...
4-7
Chapter 4. Wiring
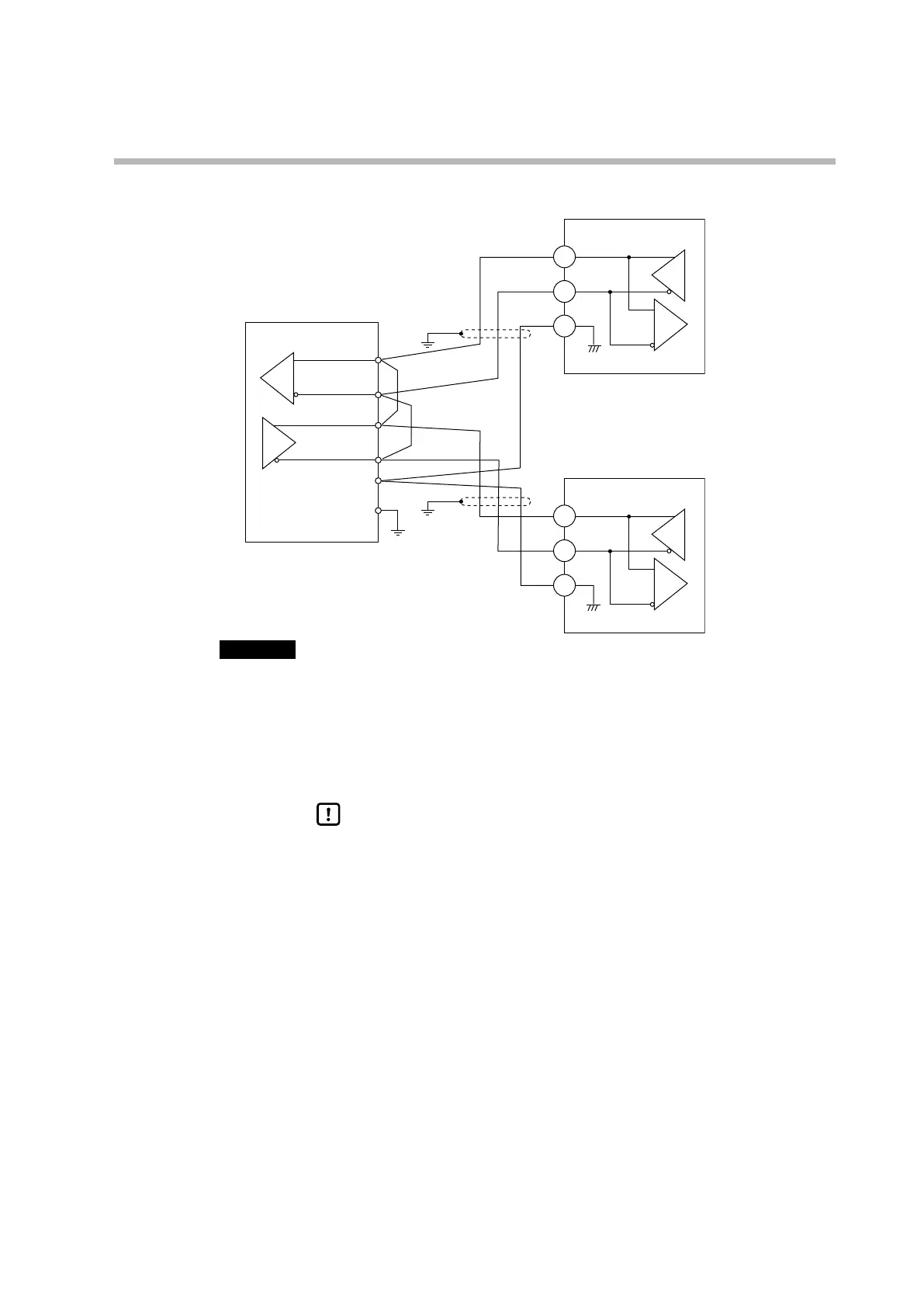
z
If the system includes 5-wire devices only
16
17
18
16
SG
SG
SG
FG
17
18
Shielded
cable
Shielded
cable
Master station
Model C1M (slave station)
Model C1M (slave station)
+
+
DA(+)
DA(
+)
DB(
)
DB(
)
Important Terminating resistor
Connect a terminating resistor (120 Ω, 1/2 W or more recommended) to both
ends of the RS-485 transmission line.
However, if terminal resistance is not specified for other devices connected
to the same transmission line, do not connect the resistor. If they do specify a
resistor, use the highest resistance value specified, at least 120 Ω.
Handling Precautions
Do not short DA (+) and DB (–). Doing so might damage this device.
Ground only one end of the shielded cable.
Be sure to connect the signal ground (SG) terminals to each other.
Otherwise, communication may be unreliable.

Table of Contents

Related product manuals