EasyManua.ls Logo

Hioki 3159 - Page 76

Hioki 3159
188 pages
Print Icon
To Next Page IconTo Next Page
To Next Page IconTo Next Page
To Previous Page IconTo Previous Page
To Previous Page IconTo Previous Page
Loading...
64
_____________________________________________________________________________________________
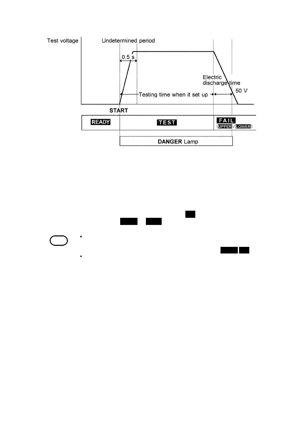
4.5 PASS or FAIL Determination
______________________________________________________________________________________________
NOTE
When the optional "Insulation Resistance Measurement Range" function is set to
"
1
: Auto Range", it takes up to 1.3 s to display the resistance value. When the
test finishes before the preset test time, the test results in a
LOWER FAIL
.
Setting an upper-limit value while using a fixed range restricts the range of
resistance that can be measured. Therefore, even if a resistance value lower than
the preset upper-limit value is measured, "
O.F.
" is displayed resulting in an
UPPER FAIL.
(
See Section 4.3.2
)
Flow of FAIL determination
1.
Press the START key to start a test.
2.
A voltage continues to be output until the test time elapses and measure
resistance.
3.
When the preset test time has elapsed, and the measured resistance value
deviates from the upper- or lower-limit value, the unit stops outputting a
voltage and switches to the FAIL state.
FAIL
lights up in the FAIL state
together with
LOWER
or
UPPER
.

Table of Contents

Other manuals for Hioki 3159

Related product manuals