EasyManua.ls Logo

Omron CQM1 - Forced-Zero Shift

Omron CQM1
312 pages
Print Icon
To Next Page IconTo Next Page
To Next Page IconTo Next Page
To Previous Page IconTo Previous Page
To Previous Page IconTo Previous Page
Loading...
212
Forced-zero Shift Section 6-3
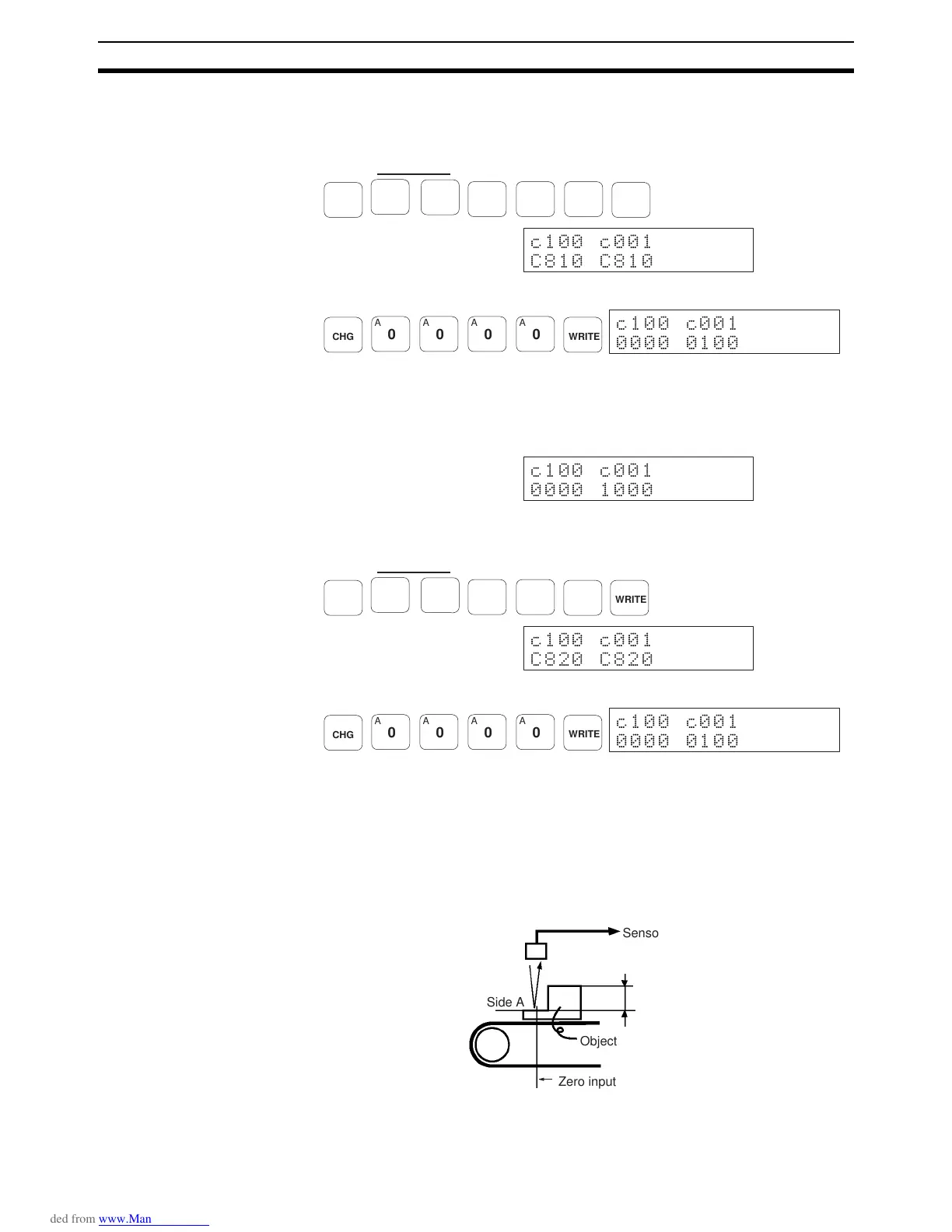
2. Input the set value teach command code C810 for the L value. To input the
letter C with the Programming Console, press the Shift and 2 Keys. The in-
put word will be set to the response C810.
3. Set 0000 to the output word. 0100 will be set to the input word.
For the Largest Object
4. Adjust the H value with the largest object next. The input word reads 1000,
which is the scaled conversion data of the largest object measured with the
Unit, and the output word reads 0000.
5. Input the set value teach command code C820 for the H value. The input
word will be set to the response C820.
6. Set 0000 to the output word again. The input word will be set to 1000.
To check the adjusted values, execute the set value read command with the
command code C910 or C920.
6-3 Forced-zero Shift
Use the forced-zero shift function to measure the relative values of objects
based on the standard value determined for the Unit. This function requires
ZERO and ZRES (zero reset) inputs to the Unit.
When zero input is turned ON while the Unit is sampling data, the scaled con-
version data will be shifted to zero and stored as binary data in the input word,
CHG
SHIFT
C
2
C
8
B
1
A
0
WRITE
? ?
+& +&
CHG
A
0
A
0
A
0
A
0
WRITE
? ?
 
? ?
 
CHG
SHIFT
C
2
C
8
C
2
A
0
WRITE
? ?
+& +&
CHG
A
0
A
0
A
0
A
0
WRITE
? ?
 
Side A
Sensor input
Measured
value
Object
Zero input ON
Side B

Table of Contents

Related product manuals