EasyManua.ls Logo

Parker PD-04 Series

Parker PD-04 Series
286 pages
To Next Page IconTo Next Page
To Next Page IconTo Next Page
To Previous Page IconTo Previous Page
To Previous Page IconTo Previous Page
Loading...
Parker Hannifin
P series User Guide 60
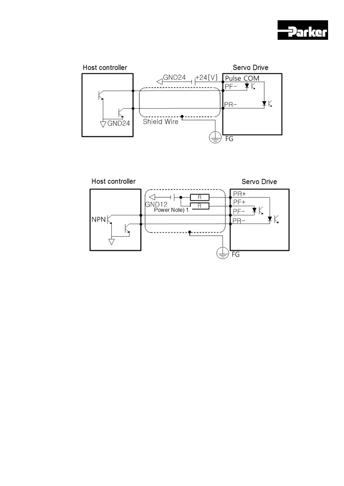
Open Collector (24[V]) Pulse Input
Figure 24. Example of Open Collector Pulse Input Signal Wiring
12[V] or 5[V] NPN Open Collector Pulse Command
Figure 25. Example of NPN Open Collector Pulse Command Wiring
Note 1) When using 5[V] power: resistance R=100~150[Ω], 1/2[W]
When using12[V] power: resistance R=560~680[Ω], 1/2[W]
When using24[V] power: resistance R=1.5[kΩ], 1/2[W]

Table of Contents

Related product manuals