EasyManua.ls Logo

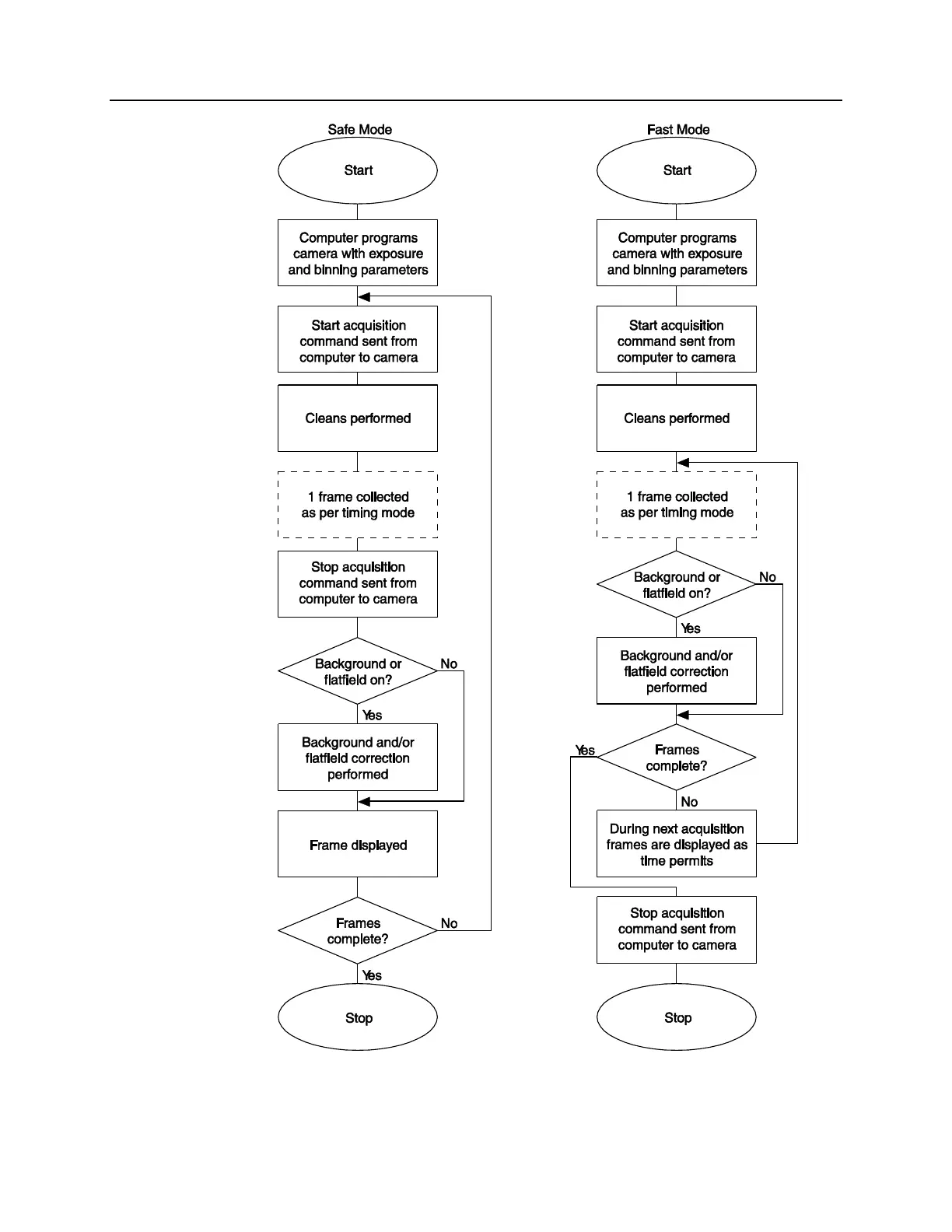
Princeton Instruments PI-MAX2 System - Figure 25. Safe Mode and Fast Mode Operation

Default Icon
238 pages
Print Icon
To Next Page IconTo Next Page
To Next Page IconTo Next Page
To Previous Page IconTo Previous Page
To Previous Page IconTo Previous Page
Loading...
Chapter 5 General Operation Factors 71
Figure 25. Safe Mode and Fast Mode Operation

Table of Contents

Related product manuals