EasyManua.ls Logo

Princeton Instruments PI-MAX2 System - Figure 36. MCP Gated Operation Cabling

Default Icon
238 pages
Print Icon
To Next Page IconTo Next Page
To Next Page IconTo Next Page
To Previous Page IconTo Previous Page
To Previous Page IconTo Previous Page
Loading...
90 PI-MAX/PI-MAX2 System Manual Version 5.F
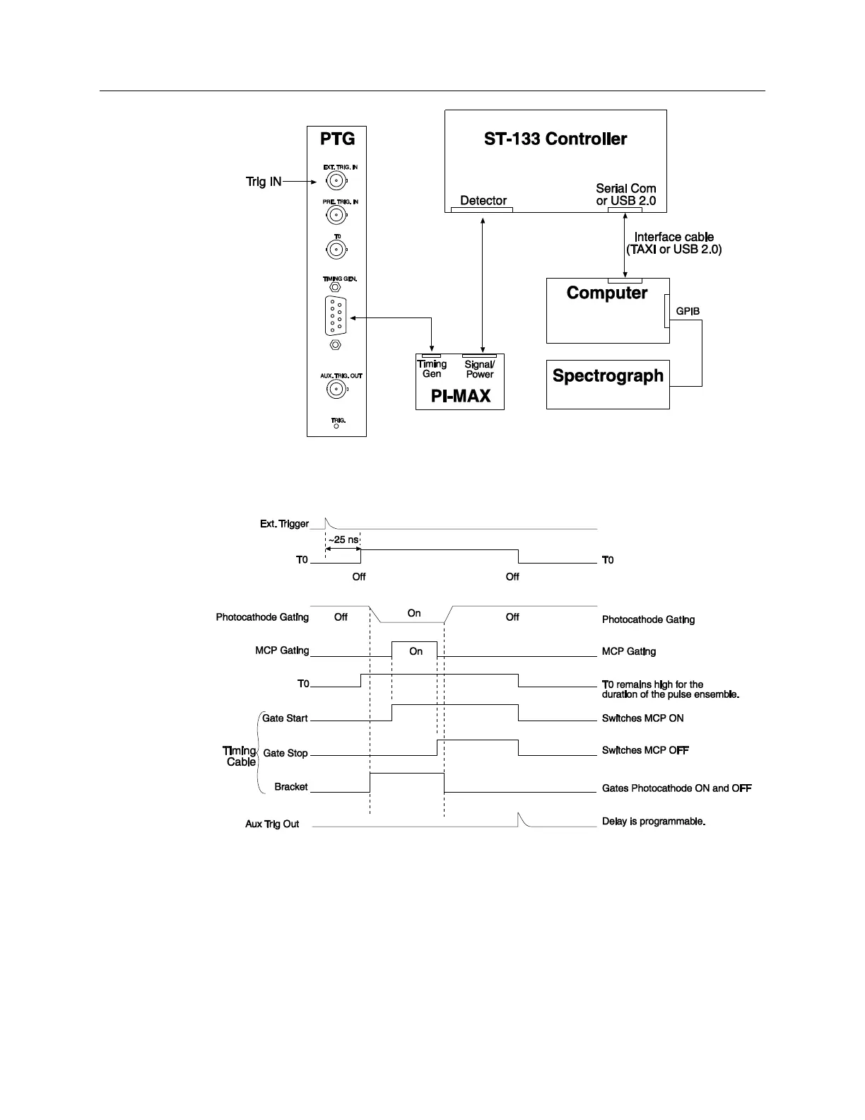
Figure 36. MCP Gated Operation Cabling
Figure 37 is a timing diagram for a PTG. Note that the insertion delay is 25 ns instead of
the 85 ns insertion delay characteristic to the DG535.
Figure 37. PI-MAX Timing in MCP Gated Operation with PTG Timing Generator

Table of Contents

Related product manuals