EasyManua.ls Logo

Thermo Scientific Micro-Tech 9101 - Digital Output Expansion Boards; Relay Output Board

Thermo Scientific Micro-Tech 9101
329 pages
Print Icon
To Next Page IconTo Next Page
To Next Page IconTo Next Page
To Previous Page IconTo Previous Page
To Previous Page IconTo Previous Page
Loading...
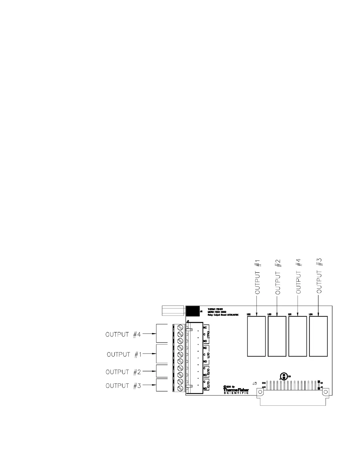
A-38 Micro-Tech 9101/9201 Reference Manual, Rev J Thermo Fisher Scientific
The board options are as follows.
Relay Output Board
or
Opto-22 Output Board
Install in expansion slot J7 on the motherboard. Use UL 1015 wire,
16AWG / 1 sq.mm or smaller.
This is an optional board.
Four (4) outputs (outputs #1–4)
Panel version
Rated: 33 VAC at 2A. Fusing requirement: 3A.
Rated: 70 VDC at 0.5A. Fusing requirement: 1A.
Field version
Rated: 240 VAC at 3A. Fusing requirement:5A.
Rated: 70 VDC at 0.5A. Fusing requirement 1A.
Part number = 102479
Digital Output
Expansion
Boards
Relay Output
Board

Table of Contents

Related product manuals