EasyManua.ls Logo

Trango Systems TrangoLINK GigaPlus - Figure 2 ODU Functional Block Diagram

Trango Systems TrangoLINK GigaPlus
255 pages
Print Icon
To Next Page IconTo Next Page
To Next Page IconTo Next Page
To Previous Page IconTo Previous Page
To Previous Page IconTo Previous Page
Loading...
Trango Systems, Inc. GigaPlus User Manual Rev 3.1 19
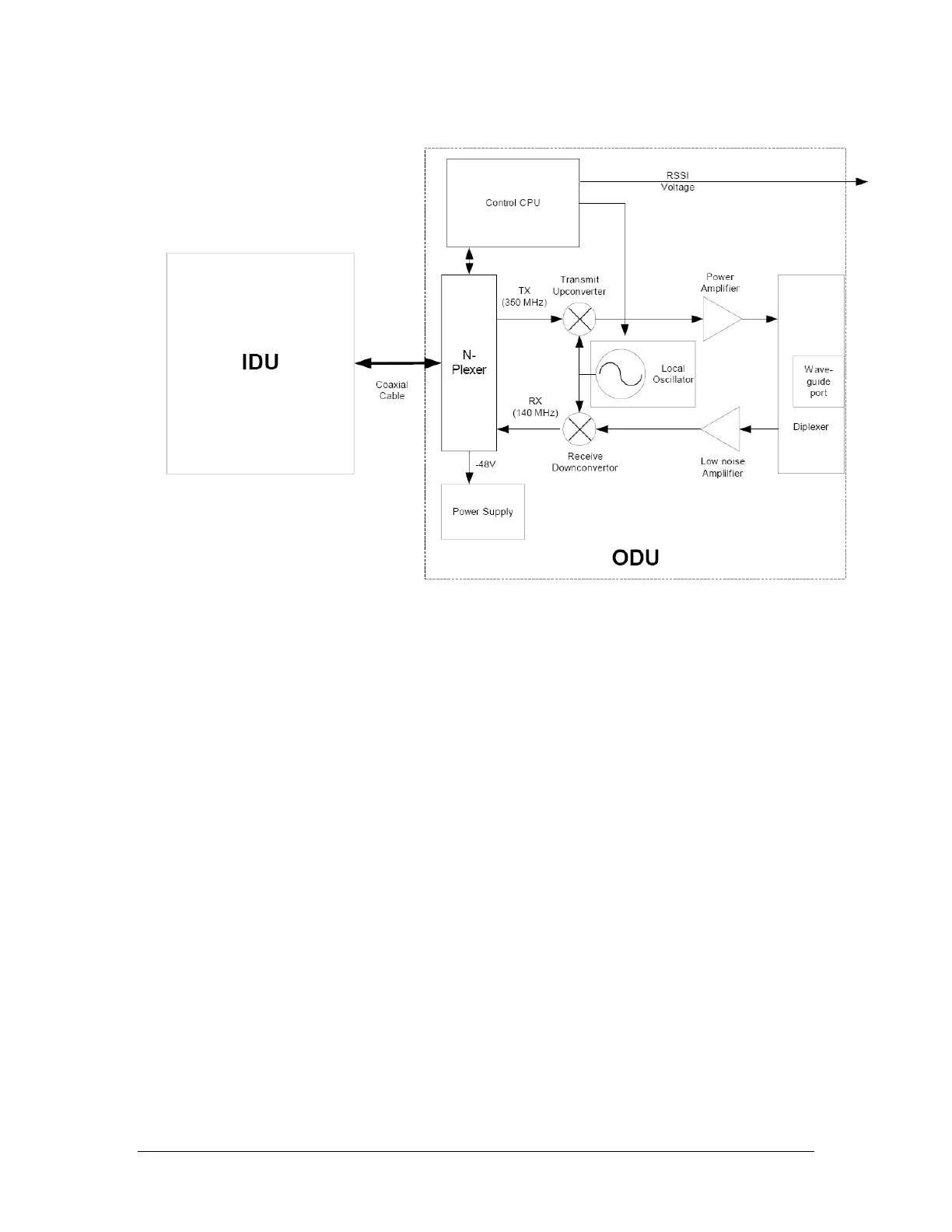
Figure 2 ODU Functional Block Diagram
The TrangoLINK
®
GigaPlus is a Frequency Division Duplex (FDD) radio which provides low
latency of less than 150 microseconds (s), over 1 million packets per second, and up to
375 Mbps of full duplex capacity. Standard features include Quality-of-Service (QoS)
traffic prioritization to ensure that critical traffic gets through, as well as Adaptive
Coding and Modulation (ACM) to improve performance during weather related signal
degradation.
GigaPlus supports direct -48 Volt DC dual power to allow for redundant power supplies.
The IDU power input has reverse voltage protection to prevent damage and surge
suppression circuitry to reduce susceptibility to noise.

Table of Contents