EasyManua.ls Logo

Vaisala WINDCAP WMT700 Series - Appendix C. Default Settings for Different Communication Profiles; C.1 Default Settings for Different Communication Profiles

Vaisala WINDCAP WMT700 Series
210 pages
To Next Page IconTo Next Page
To Next Page IconTo Next Page
To Previous Page IconTo Previous Page
To Previous Page IconTo Previous Page
Loading...
Appendix B. Typical System
Environments
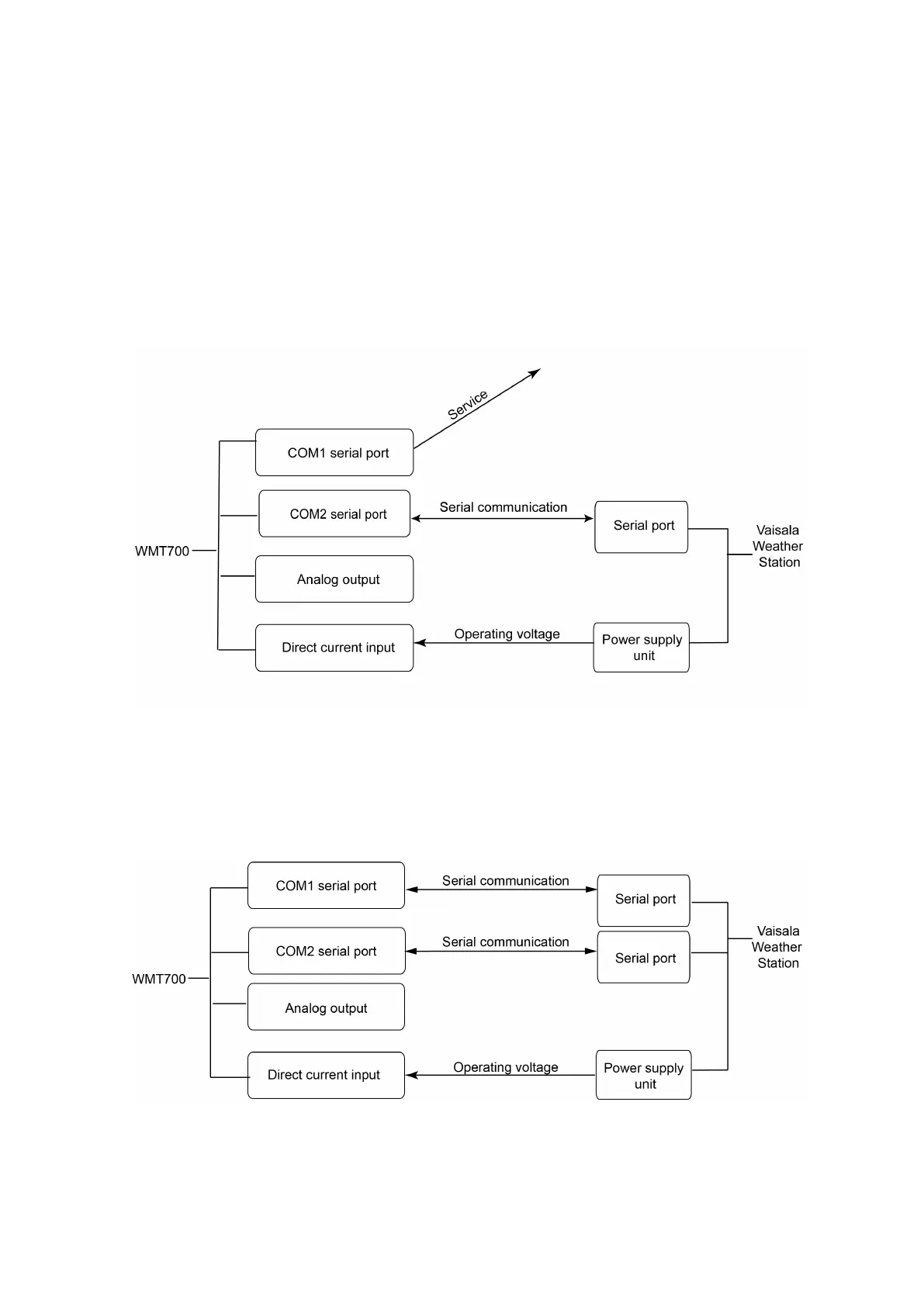
The following figure shows a system in which the weather station is connected to COM2,
while COM1 is left for service and maintenance purposes only. This is the recommended
setup for WMT700 serial communications.
Figure 49 System Environment with Serial Port COM1 Only
The following figure shows a system in which the weather station is only connected to the
analog output channel. Serial port COM1 is used for maintenance purposes.
Figure 50 System Environment with Analog Output Only
Appendix B – Typical System Environments
183

Table of Contents

Other manuals for Vaisala WINDCAP WMT700 Series

Related product manuals