EasyManua.ls Logo

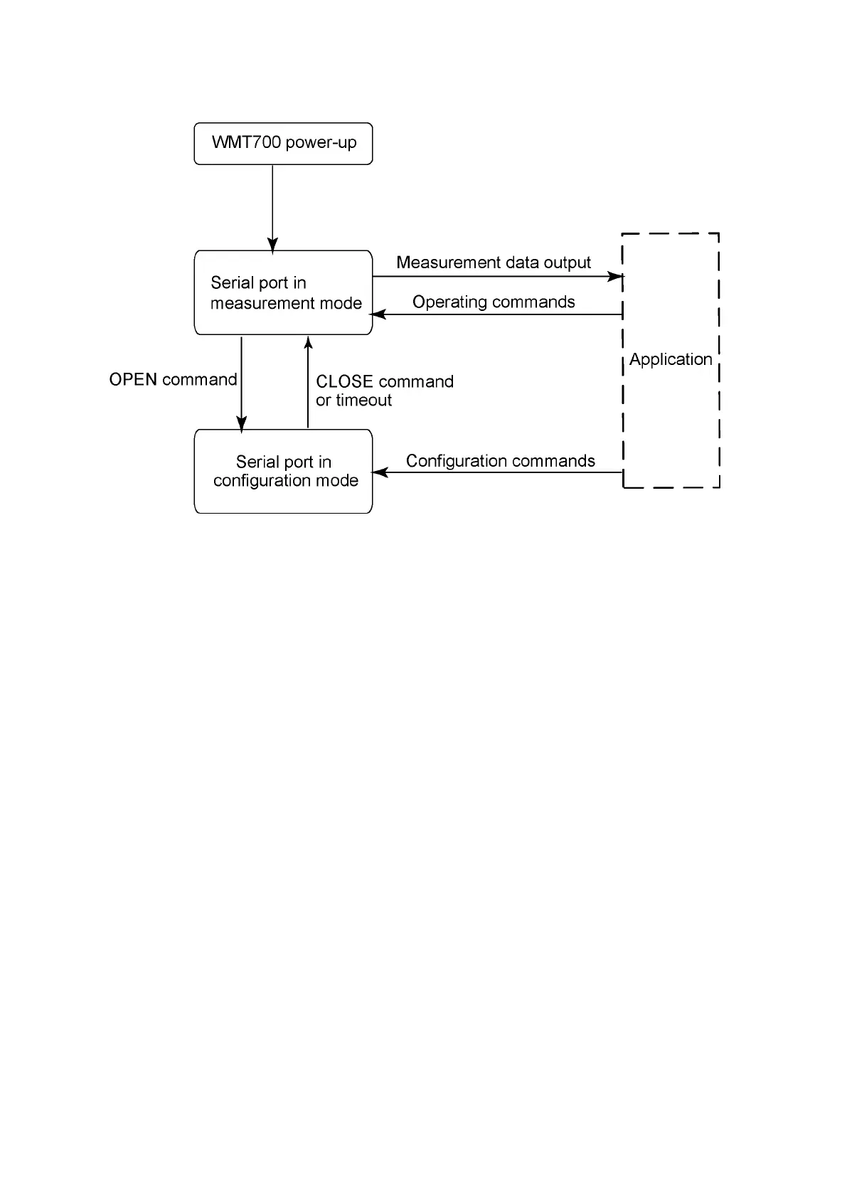
Vaisala WINDCAP WMT700 Series - Serial Interface Timing; Figure 17 Configuration and Measurement Modes

Vaisala WINDCAP WMT700 Series
210 pages
To Next Page IconTo Next Page
To Next Page IconTo Next Page
To Previous Page IconTo Previous Page
To Previous Page IconTo Previous Page
Loading...
Figure 17 Configuration and Measurement Modes
After power-up, WMT700 is in measurement mode.
More Information
Command Set for WMT700 (page 181)
Entering and Exiting
Configuration Mode (page 100)
OPEN — Entering Configuration Mode (page 100)
CLOSE — Exiting Configuration Mode (page 101)
3.7.5
 Serial Interface Timing
Depending on the selected interface, the serial data interface timing is as follows:
WMT700 User Guide M211095EN-H
42

Table of Contents

Other manuals for Vaisala WINDCAP WMT700 Series

Related product manuals