EasyManua.ls Logo

Canon imageCLASS 2200 - Main Power and Control Panel Power; How to Turn on the Main Power

Canon imageCLASS 2200
358 pages
Print Icon
To Next Page IconTo Next Page
To Next Page IconTo Next Page
To Previous Page IconTo Previous Page
To Previous Page IconTo Previous Page
Loading...
Main Power and Control Panel Power
1-23
Before You Start Using This Machine
1
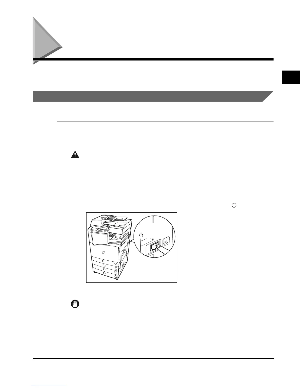
Main Power and Control Panel Power
The machine is provided with two power switches, a main power switch and a control panel
power switch.
How to Turn On the Main Power
This section explains about how to turn on the main power.
1
Make sure that the power plug is rmly inserted into the power
outlet.
WARNING
Never remove or insert the power plug with wet hands. This can cause an electrical
shock.
2
Press the power switch to ON (“ I ” side). The main power switch is
located on the right side of the machine.
When turning off the main power, press the main power switch to the “ ” side.
The main power indicator on the control panel lights.
IMPORTANT
If the main power indicator on the control panel does not light even though the main power
switch is ON, be sure to check the breaker to see if it is OFF.(See ‘When the Power Does Not
Turn On (Checking the Breaker), on p. 6-34.)
ON
I
side)(
OFF
side)(
E1L_US_U_.book-INDEX Page 23 Wednesday, May 23, 2001 11:40 PM

Table of Contents

Related product manuals