EasyManua.ls Logo

HP 1660 Series - Page 147

HP 1660 Series
223 pages
Print Icon
To Next Page IconTo Next Page
To Next Page IconTo Next Page
To Previous Page IconTo Previous Page
To Previous Page IconTo Previous Page
Loading...
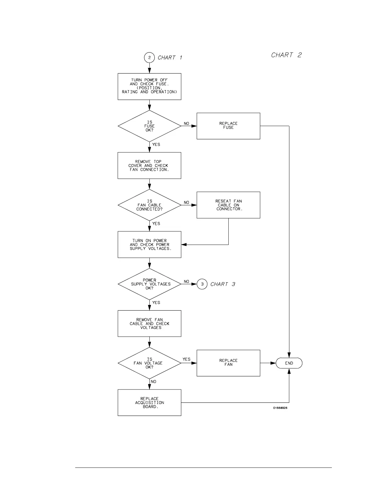
Troubleshooting Flowchart 2
Troubleshooting
To use the flowcharts
5–4

Table of Contents

Other manuals for HP 1660 Series

Related product manuals