EasyManua.ls Logo

Valtra 6550 - Page 78

Valtra 6550
1361 pages
Print Icon
To Next Page IconTo Next Page
To Next Page IconTo Next Page
To Previous Page IconTo Previous Page
To Previous Page IconTo Previous Page
Loading...
Earlier pump in 620---engines:
6900, 8000, 8050 ---8200
8450 (normal wheel base)
8050Hi---8350Hi
Earlier pump in 634---engines:
8450 (long wheel base)
8450Hi (long wheel base)
8550, 8750, 8550Hi
Present pump in 6---cyl.
engines from J7034 incl.
73
Model Code Page
21. Engine
1. 8. 2000
6900--8950
215 5
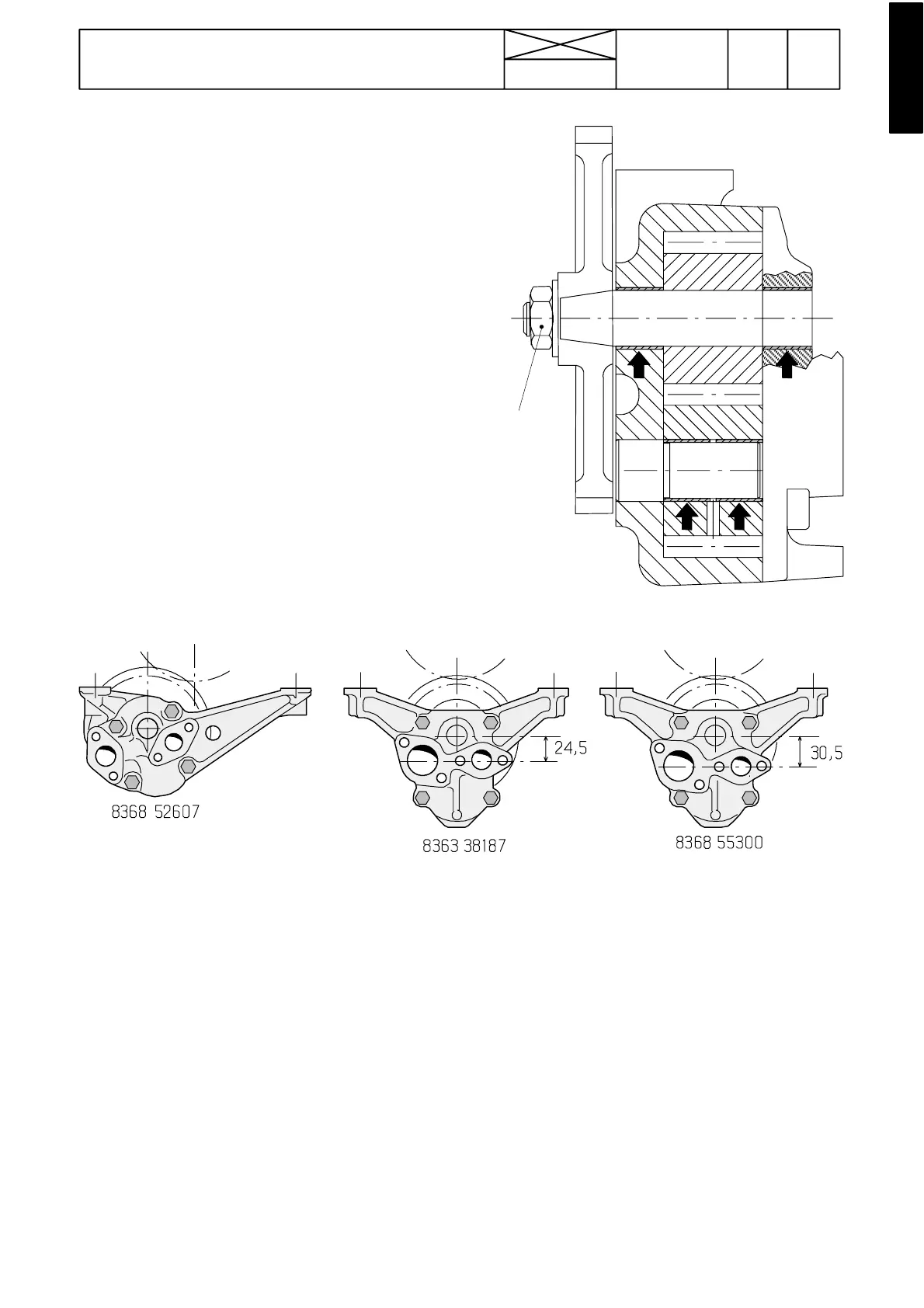
F. Lubricating oil pump from engine no.
J7034 incl. in 6 ---cyl. engines
Fro m engine no. J7034 incl. the lubricating oil pump in 620---
and 634--- engines has been replaced with 645---engine’s
pump. Simultaneously pressureand sucti on pipes have been
changed.
The pump of 645---engines canbe fittedon earliermanufactu-
red 620--- and 634---engines, when the new suction and pres-
sure pipes with seals are fitted. The original pump is also deli-
vered for the earlier manufactured engines.
The pump of 645---engine has the same adjusting and machi-
ning values as the pump of 620---engine:
--- gearwheel end float, 0,03 ---0,11 mm
--- tooth backlash, 0,05---0,25
--- the bearing bushings are machined after fitting to
18,000 ---18,018
Note! Repair instructions for the pump of engines 620 and
634 are the same as 645---pump, see instr. B and C.Pump
fixing bolt tightening torque is 60 Nm.
60 Nm
Loctite 242

Table of Contents

Related product manuals