EasyManua.ls Logo

wsm M7060 - Hydraulic Shuttle Valve; Structure

wsm M7060
639 pages
Print Icon
To Next Page IconTo Next Page
To Next Page IconTo Next Page
To Previous Page IconTo Previous Page
To Previous Page IconTo Previous Page
Loading...
TRANSMISSION
M6060, M7060, WSM
2-M6
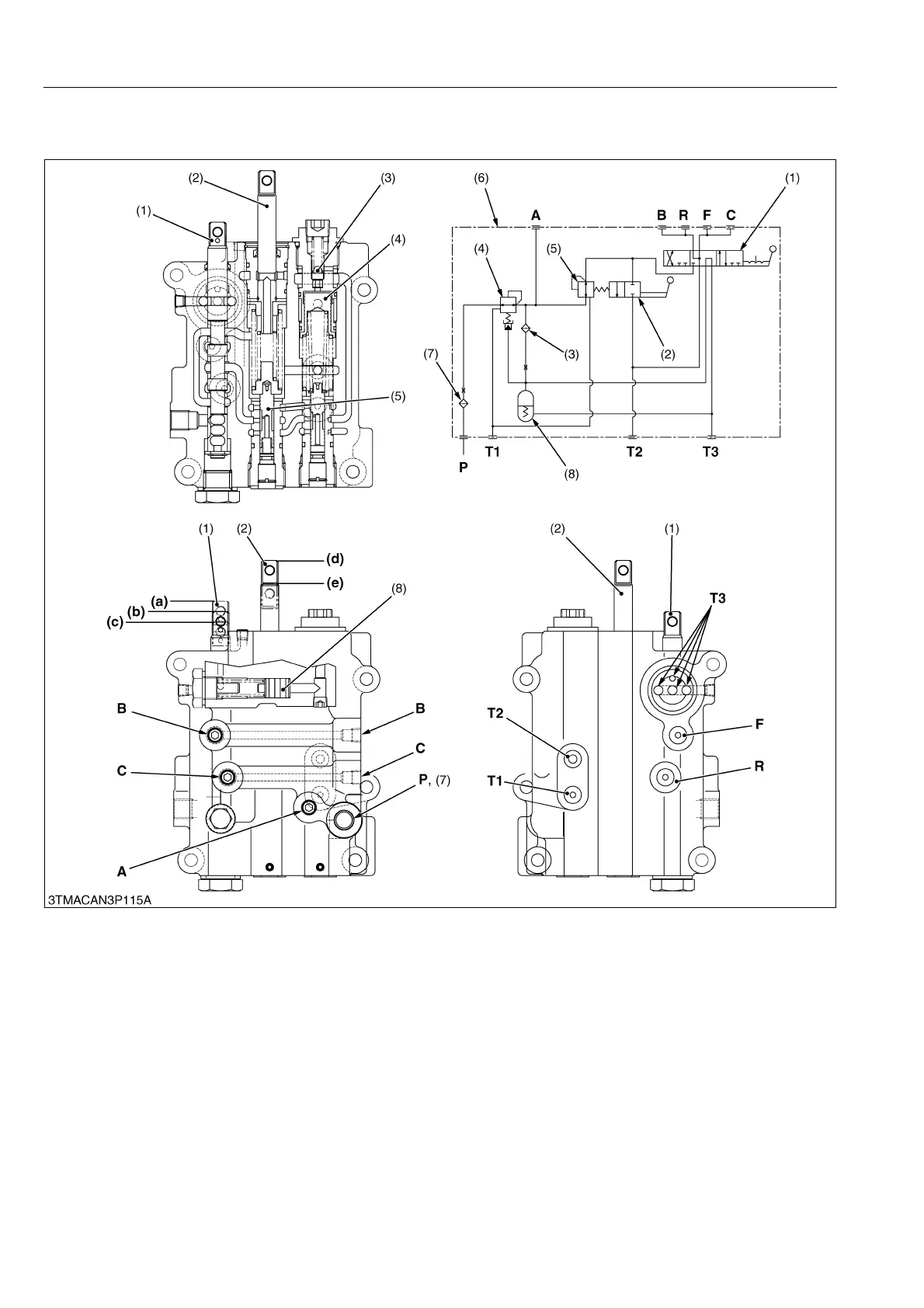
[2] HYDRAULIC SHUTTLE VALVE
(1) Structure
Hydraulic shuttle valve consists of modulating valve (4), proportionally reducing valve (5), shuttle shift spool (1),
accumulate valve (8) and other component parts.
9Y1210828TRM0006US0
(1) Shuttle Shift Spool
(Forward, Reverse)
(2) Inching Valve Spool
(3) Line Filter
(4) Modulating Valve
(5) Proportionally Reducing Valve
(6) Shuttle Valve
(7) Line Filter
(8) Accumulate Valve
(a) Shuttle Forward Position
(b) Shuttle Neutral Position
(c) Shuttle Reverse Position
(d) Clutch Pedal Depressed
Position
(e) Clutch Pedal Released
Position
A: Pressure Check Port
(Modulation)
B: Pressure Check Port
(Reverse)
C: Pressure Check Port
(Forward)
F: To Clutch Body (Forward)
P: P Port (Pump)
R: To Clutch Body (Reverse)
T1 to T3: Tank Port
KiSC issued 08, 2013 A

Table of Contents

Related product manuals