EasyManua.ls Logo

Brunswick MAX - Electrical System Schematic - Rear View

Brunswick MAX
218 pages
Print Icon
To Next Page IconTo Next Page
To Next Page IconTo Next Page
To Previous Page IconTo Previous Page
To Previous Page IconTo Previous Page
Loading...
MAX Operation & Service Manual 215MAX Operation & Service Manual Section9:Appendix215
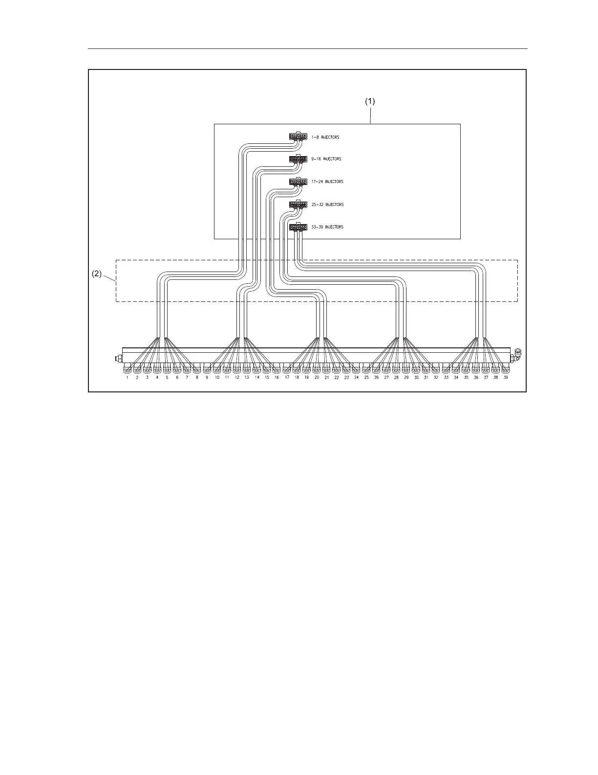
Electrical System Schematic - Rear View
Figure9-4.ElectricalSystem-Rear
(1) ELECTRICAL ENCLOSURE (2) RACEWAY (ABOVE INJECTOR RAIL)

Table of Contents

Related product manuals