EasyManua.ls Logo

Case SDX30 - Page 23

Case SDX30
171 pages
Print Icon
To Next Page IconTo Next Page
To Next Page IconTo Next Page
To Previous Page IconTo Previous Page
To Previous Page IconTo Previous Page
Loading...
SECTION 1 - SAFETY
page 1-18
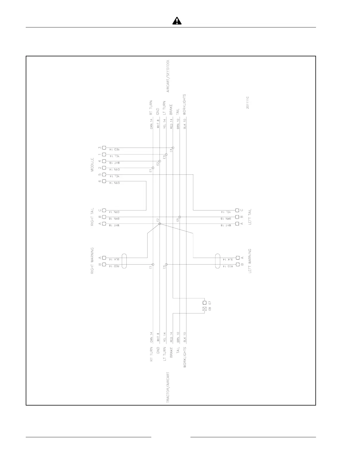
Transport Lighting Wiring Schematic
TRANSPORT LIGHTING WIRING SCHEMATIC - for SDX30 2
nd
Serial Number Range and SDX40

Table of Contents

Related product manuals