EasyManua.ls Logo

Fluke 54200 - Page 355

Fluke 54200
386 pages
Print Icon
To Next Page IconTo Next Page
To Next Page IconTo Next Page
To Previous Page IconTo Previous Page
To Previous Page IconTo Previous Page
Loading...
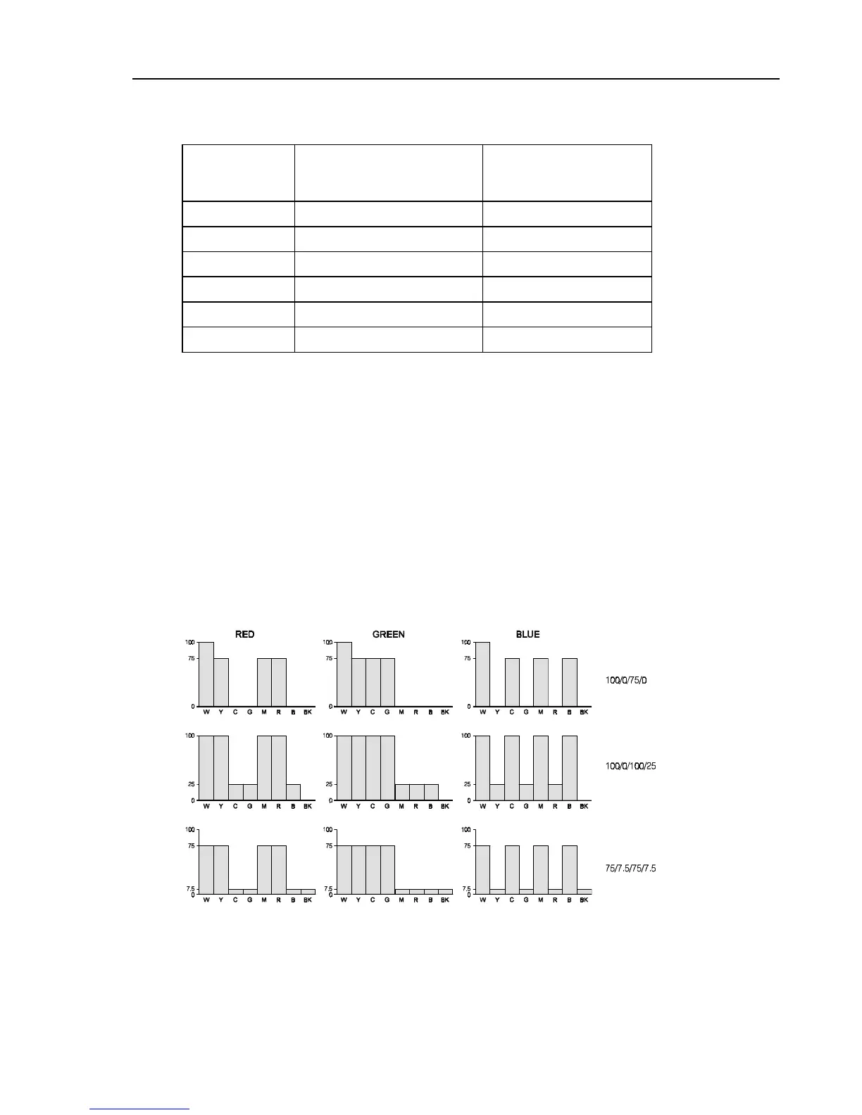
Nomenclature of Color Bar Signals
E
E-3
The following nomenclature is used to identify and distinguish between color signals
(according to CCIR Rec. 471).
Signal Level Relative
to Peak White (%)
A B C D
TV Systems
Color bars 175 / 0 / 75 / 0 625 line systems
Color bars 100 / 0 / 75 / 0 625 line systems
Color bars 175 / 0 / 100 / 25 625 line systems
Color bars 100 / 0 / 100 / 25 625 line systems
Color bars 175 / 7.5 / 75 / 7.5 525 line systems
Color bars 100 / 7.5 / 75 / 7.5 525 line systems
A The primary color signal level during transmission of the 'white' color bar, for
example maximum value of E'R, E'G, and E'B.
B The primary color signal level during transmission of the 'black' color bar, for
example minimum value of E'R, E'G, and E'B.
C The maximum level of the primary color signal during transmission of 'colored' color
bars, for example maximum value of E'R, E'G, and E'B.
D The minimum level of the primary color signal during transmission of 'colored' color
bars, for example minimum value of E'R, E'G, and E'B.
The color bar is generated by the three primary color signals
Red, Green,
and
Blue
(E'R, E'G, and E'B). The signal amplitudes shown below, are expressed as a percentage
of the white level, whereby peak white corresponds to 100%, and the blanking level to
zero.
W: white, Y: yellow, C: cyan, G: green, M: magenta, R: red, B: blue, BK: black

Table of Contents