EasyManua.ls Logo

Hammond SKX - Drawbar Parameter Settings

Hammond SKX
156 pages
Print Icon
To Next Page IconTo Next Page
To Next Page IconTo Next Page
To Previous Page IconTo Previous Page
To Previous Page IconTo Previous Page
Loading...

Skx
Owners Manual
72
DRAWBAR
Drawbar sound parameters for each keyboard are set in this mode.
To locate this mode:
SETTING FOR MANUAL (LOWER & UPPER) DRAWBARS
ORGAN TYPE
Select the manual keyboard Organ Type.
BType1: Traditional B-3/C-3 Tone Wheel sound
BType2: Sound with more leakage noise and wow- utter
Mellow: With transparent sine waves
Vx: Transistor Organ, Vx type
Fart: Transistor Organ, Farf type
Pipe: Pipe Organ
When the Organ Type is set at Vx, Farf, or Pipe, the parameters (2) to (6) are un-
available.
CLICK - ATTACK LEVEL
Sets the key-on click volume.
e higher the value, the louder the click gets. No key-click at 4. As the value goes
lower than 4, the attack rate becomes slower.
CLICK - RELEASE LEVEL
Sets the key-o click volume.
e higher the value, the louder the click gets. No key-click at 4. As the value goes
lower than 4, the release rate becomes slower.
CLICK - LOW PASS FILTER
Sets the key-click tone.
e setting range is 0 to 127.  e higher the value, the brighter the sound.
FOLDBACK - LOW
Sets the key-point from which the 16´ Drawbar folds back (= repeat the same octave
on the lower octaves of the keyboard).
e bottom key on the keyboard is displayed as “1C”.  e setting range is 1C to 2C.
FOLDBACK - HIGH
Sets the key from which the 1´ Drawbar folds back (= repeat the same octave on the
higher octaves).
e setting range is 4G to 5C.
NOTE: The Fold-back is possible not only with 1´ but also with 1⁄´, 1⁄´, 2´, 2⁄´ Drawbars.
ORGAN VOLUME
Set the volume for the entire Organ section. It is related with [ORGAN VOLUME]
knob on the top panel.  e setting range is 0 to 127.
UPPER ZONE OCTAVE
Set the octave shift for the UPPER part.  e setting range is -2 to +2.
❾❿ UPPER ZONE LOW / HIGH
Set the sounding range of the UPPER part with these two parameters.
TONE-WHEEL SET
There are variations available for each virtual
Tone Wheel set of BType1, BType2 and Mellow. (P. 85)
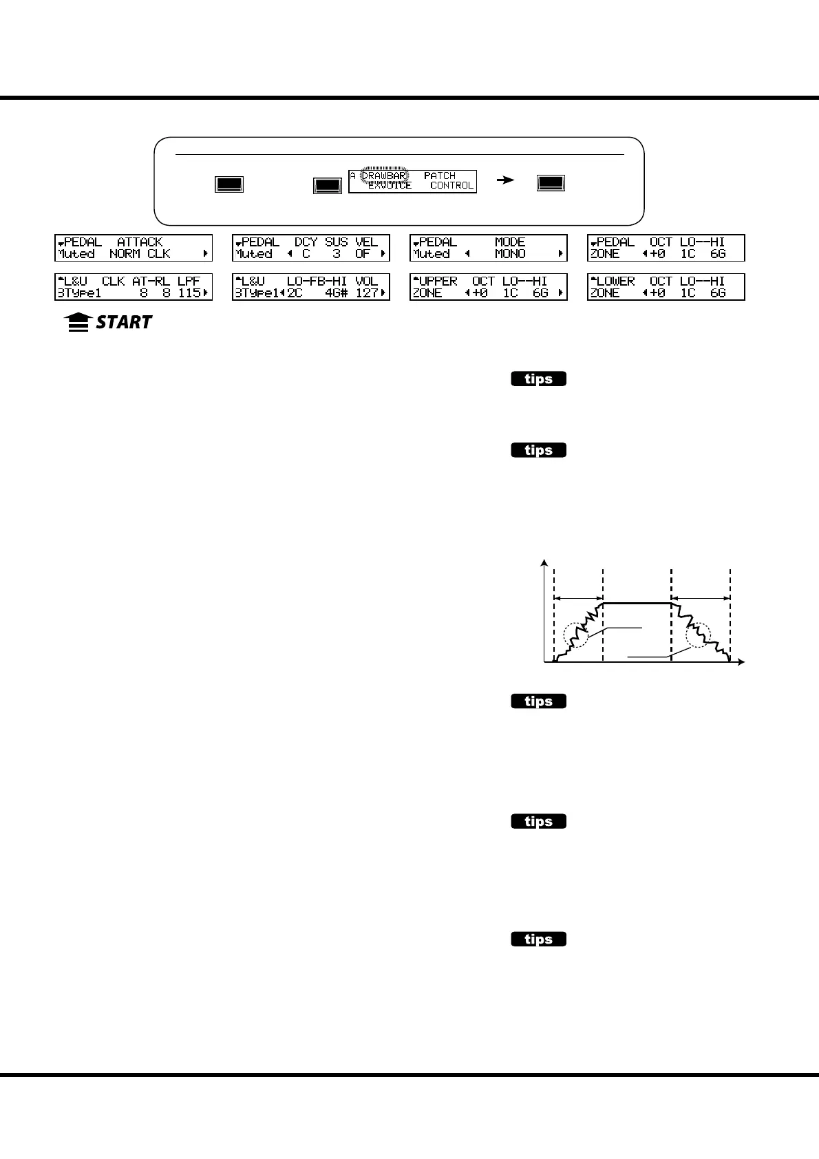
KEY CLICK
On the traditional models such as B-3/C-3, a noise
occurred when keys were pressed and released,
due to the mechanical keying system employed on
the classic organs. That characteristic is replicated
here.
Time
Loudness
Attack
Rate
Release
Rate
Attack
Click
Release
Click
Note On Note Off
EXAMPLES OF KEY-CLICK SET-
TINGS
Simulation of classic multi-contact keyboard
B-3/C-3: AT = 8, RL = 8
Simulation of a PCM synthesizer to produce the
key-click only at ‘attack’: AT = 8, RL = 4
Slow envelope like a pipe-organ: AT = 0, RL = 0
FOLD-BACK
As the number of the Tone Wheels was limited on
the B-3/C-3, the very highest and lowest pitches
“folded back” on the keyboards, sounding the
same octave twice in a row. This function repro-
duces this characteristic.
See the “Function mode” (P. 66) for operational details.
ENTER
MENU/
EXIT
HOW DOES THE ORGAN VOLUME
WORK?
The organ volume adjusts just the volume after
multi-e ects unlike the Expression. It is useful for
set the volume of each Patch, or set the level bal-
ance between organ and extra voice section.
DRAWBAR
or,
󱢾
󱢾
󱢿
󱢿

Table of Contents

Other manuals for Hammond SKX

Related product manuals