EasyManua.ls Logo

HTA HT2800T - Page 268

HTA HT2800T
275 pages
Print Icon
To Next Page IconTo Next Page
To Next Page IconTo Next Page
To Previous Page IconTo Previous Page
To Previous Page IconTo Previous Page
Loading...
HT2800T_en_c.doc Page 268 of 275
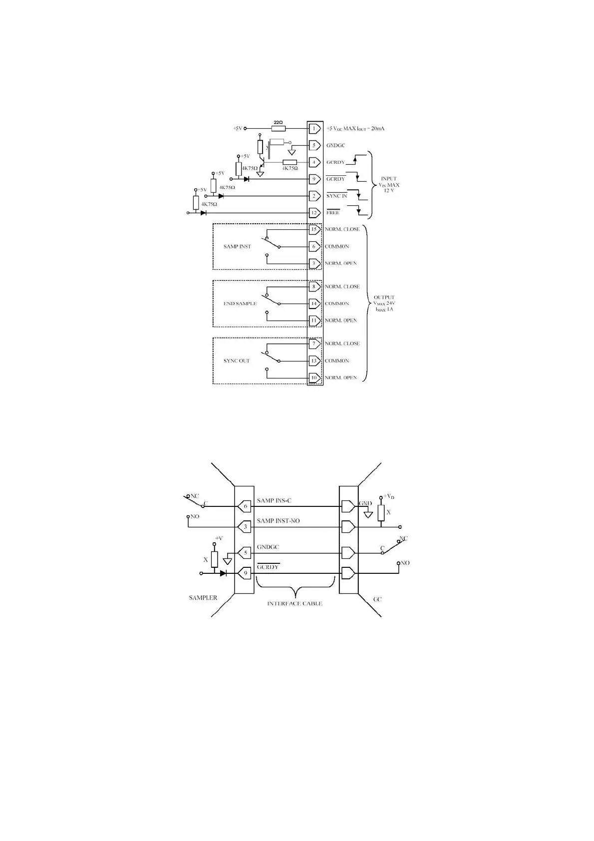
Figure 218: GC Connector
Typical GC interface
Figure 219: Common interface
100k

Table of Contents

Related product manuals