EasyManua.ls Logo

Renesas H8 Series - Page 664

Renesas H8 Series
697 pages
Print Icon
To Next Page IconTo Next Page
To Next Page IconTo Next Page
To Previous Page IconTo Previous Page
To Previous Page IconTo Previous Page
Loading...
Appendix C I/O Port Block Diagrams
Rev. 7.00 Mar 10, 2005 page 622 of 652
REJ09B0042-0700
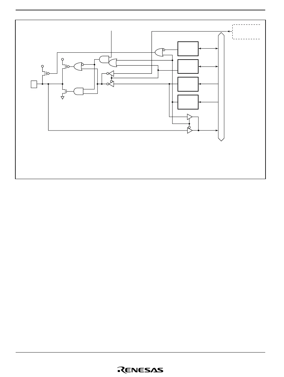
P3
n
V
CC
V
CC
PUCR3
n
Internal data bus
PMR3
n
PDR3
n
PCR3
n
SBY
V
SS
PDR3: Port data register 3
PCR3: Port control register 3
PMR3: Port mode register 3
PUCR3: Port pull-up control register 3
n = 2 and 1
TMOFH (P3
2
)
TMOFL (P3
1
)
Figure C.2(d) Port 3 Block Diagram (Pins P3
2
and P3
1
)

Table of Contents

Other manuals for Renesas H8 Series

Related product manuals