EasyManua.ls Logo

Entron EN1000 series

Entron EN1000 series
167 pages
To Next Page IconTo Next Page
To Next Page IconTo Next Page
To Previous Page IconTo Previous Page
To Previous Page IconTo Previous Page
Loading...
Page 136 • 700120S • ENTRON Controls, LLC.
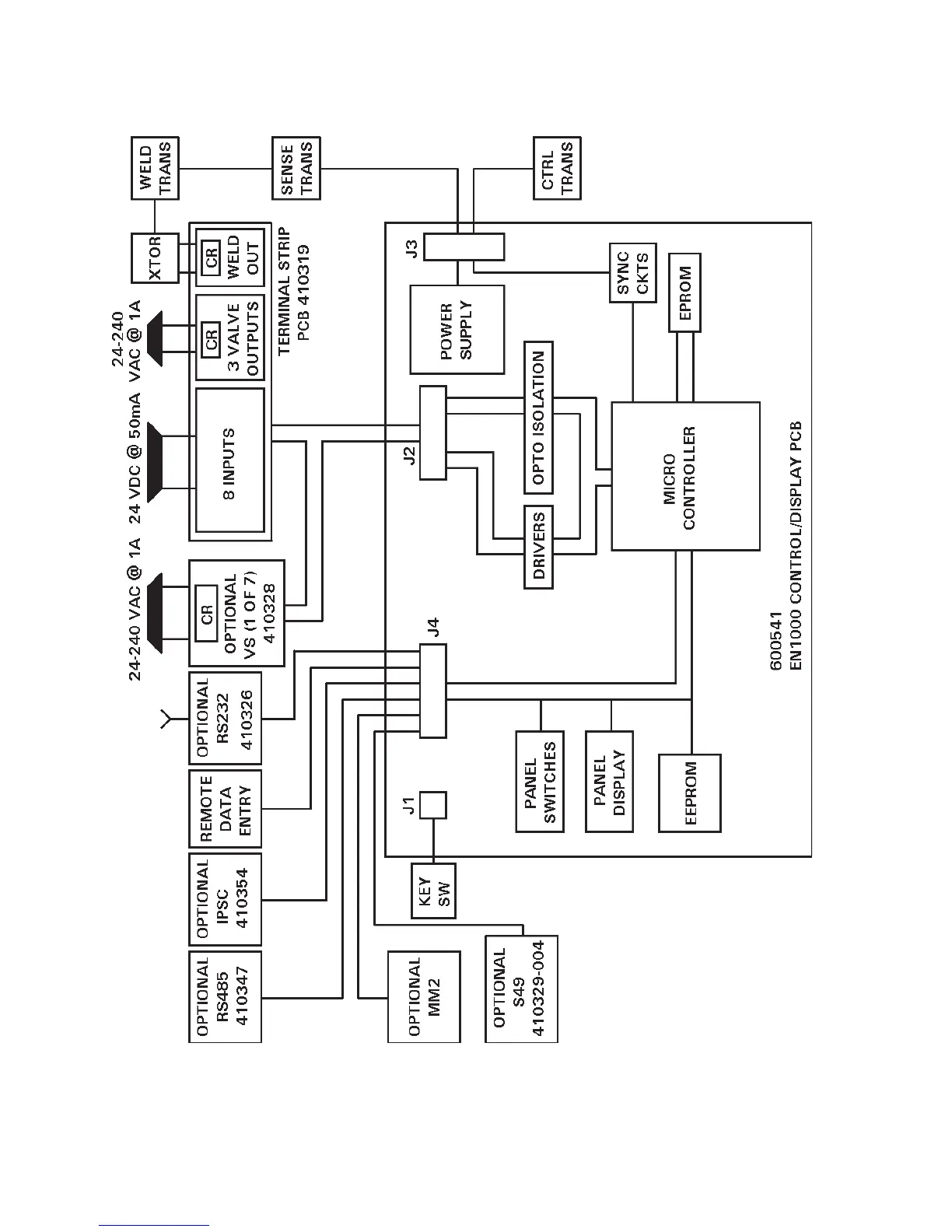
11.4 WELD CONTROL WITH OPTIONS BLOCK DIAGRAM

Table of Contents

Other manuals for Entron EN1000 series

Related product manuals