EasyManua.ls Logo

HI Sec THOR - Page 91

Default Icon
206 pages
Print Icon
To Next Page IconTo Next Page
To Next Page IconTo Next Page
To Previous Page IconTo Previous Page
To Previous Page IconTo Previous Page
Loading...
Technical Manual
October 1, 1995 18-006/081-04 GB
91
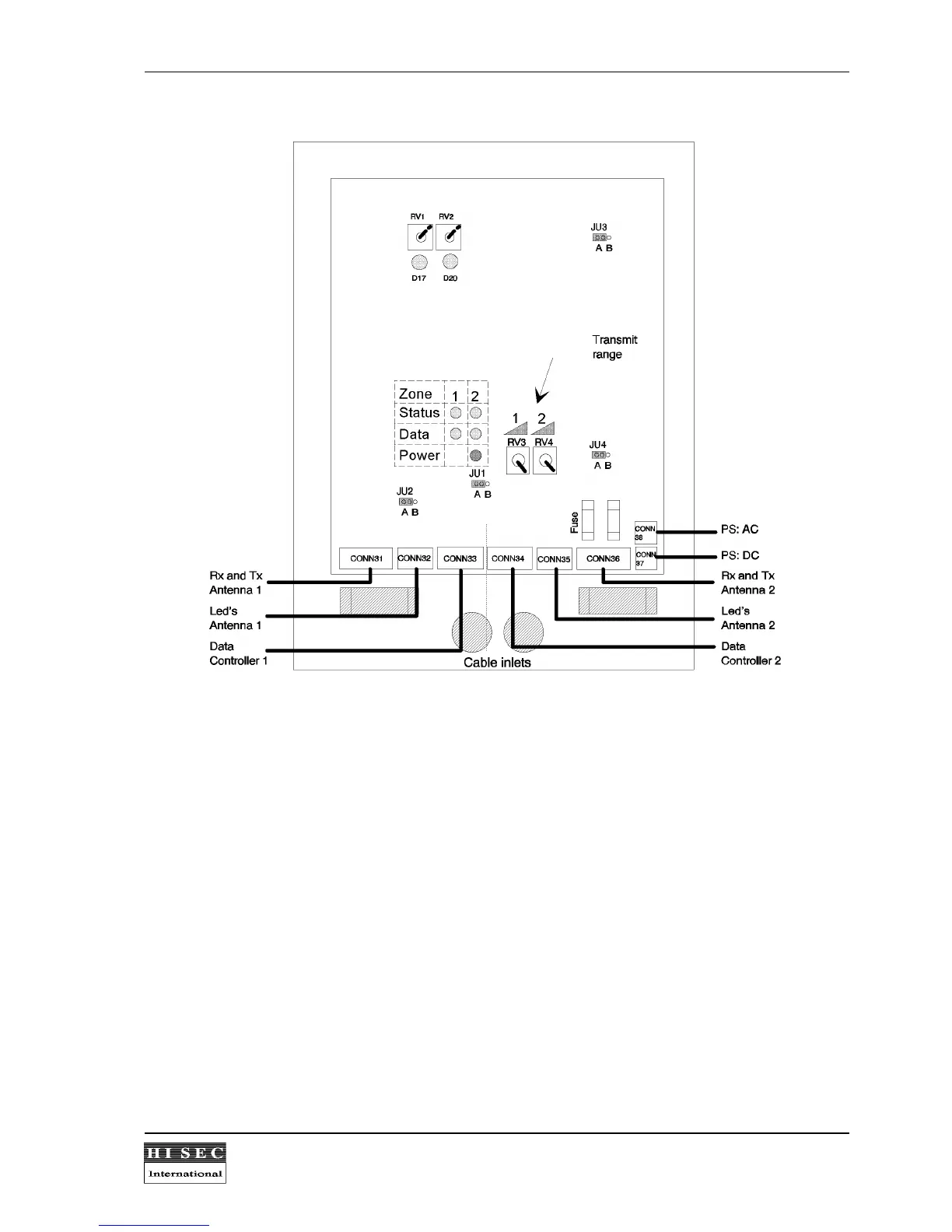
The controllers are configured from the factory with the set-up to be used by the THOR system meaning that no
jumpers, switches or potentiometers should be changed. Only the potentiometers RV3 and RV4 can be adjusted
to reduce the antenna range if needed. The potentiometers are default set for maximum range.
LED indicators:
D17
and
D20
: (yellow) Rx zone 1 and 2 will indicate (flicker), when a card is in the detection range of the
antenna.
Status:
(yellow) Will flash from 1 to 15 times during the power-up reset. The diode will also flicker, if the
back ground noise in the vicinity of the antenna is too great for the system to be able to read cards at
the normal range.
Data
: (yellow) Will flicker, when a card is accepted by the controller and send to the ERC terminal.
Power:
(green) flicker to indicate that the polling has started.

Table of Contents