EasyManua.ls Logo

LSIS XDL-L7SA002X - Page 45

LSIS XDL-L7SA002X
275 pages
Print Icon
To Next Page IconTo Next Page
To Next Page IconTo Next Page
To Previous Page IconTo Previous Page
To Previous Page IconTo Previous Page
Loading...
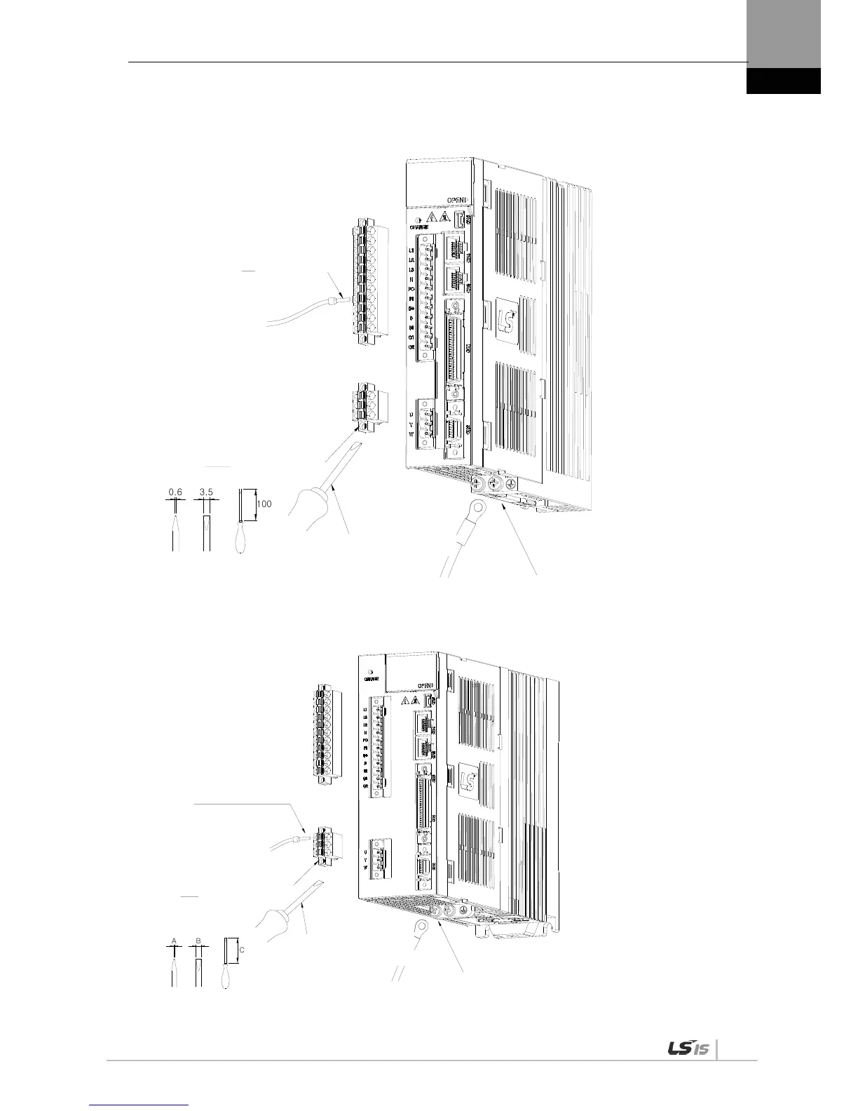
3. Wiring Method
3-7
( XDL-L7SA004 or below)
0
.
6
3
.
5
1
0
0
(XDL-L7SA008 ~ XDL-L7SA010)
A
B
C
M4 : 1.2[N·m]
0.4~0.5[N·m]
Weidmueller’s
SD 0.6x3.5x100
Weidmueller’s
SD 0.6x3.5x100
0.4~0.5[N·m]
M4 : 1.2[N·m]
Length of strip
7~10[]
Length of strip
7~10[]

Table of Contents

Related product manuals