EasyManua.ls Logo

LSIS XDL-L7SA002X - Serial Encoder Signaling Unit (CN2) Wiring

LSIS XDL-L7SA002X
275 pages
Print Icon
To Next Page IconTo Next Page
To Next Page IconTo Next Page
To Previous Page IconTo Previous Page
To Previous Page IconTo Previous Page
Loading...
3. Wiring Method
3-25
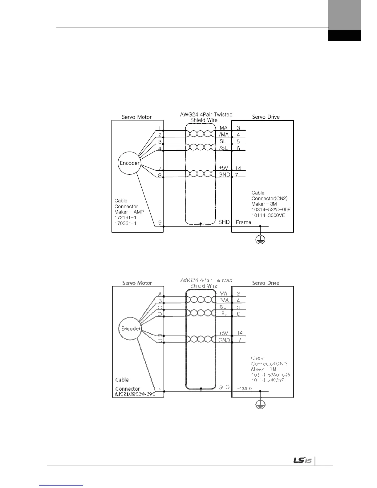
3.7 Serial Encoder Signaling Unit (CN2)
Wiring
3.7.1 XLCS-ECS Cable
3.7.2 XLCS-EDS Cable

Table of Contents

Related product manuals