EasyManua.ls Logo

Magnescale LH71A - Lathe Function Settings; Shipping (LH71 A Lathe Function and LH72)

Default Icon
Print Icon
To Next Page IconTo Next Page
To Next Page IconTo Next Page
To Previous Page IconTo Previous Page
To Previous Page IconTo Previous Page
Loading...
LH71A / LH72
(E) 5-7
or
Basic
settings
(Note)
Use at
Enter the setting value
Note 1
Detailed
settings
Model
(GENERAL)
Destination
country
(STD)
Scaling
(1.000000)
Measuring
unit
resolution
(1)
Display
resolution
(Measuring unit
resolution)
Compensation
value
(OFF)
Flicker control
(2)
Sleep
(OFF)
Power ON
Addition
display
(2)
Approx.
2 seconds
Select axis
Use to select
Use to select the settings for display 2
or
or
or
The setting in parentheses ( ) is the factory setting.
indicates the process when the setting does not be changed.
Start of operation
(When the display resolution is 0.001 mm)
When the segmented error compensation value is set, is displayed,
the unit switches to reference point acquisition mode.
Performed for each axis.
Use to select setting content
Use to select setting content
Use to expand the selection option.
Note 1: Use to return
to .
Use and to select setting content
Select axis
Performed for each axis.
Use to select the setting (compensation), and then set each option
Enter the compensation value
Enter the
compensation value
Enter the
position
Select axis
Use to select setting content
Use to select setting content
q
w
e
r
t
y
u
i
o
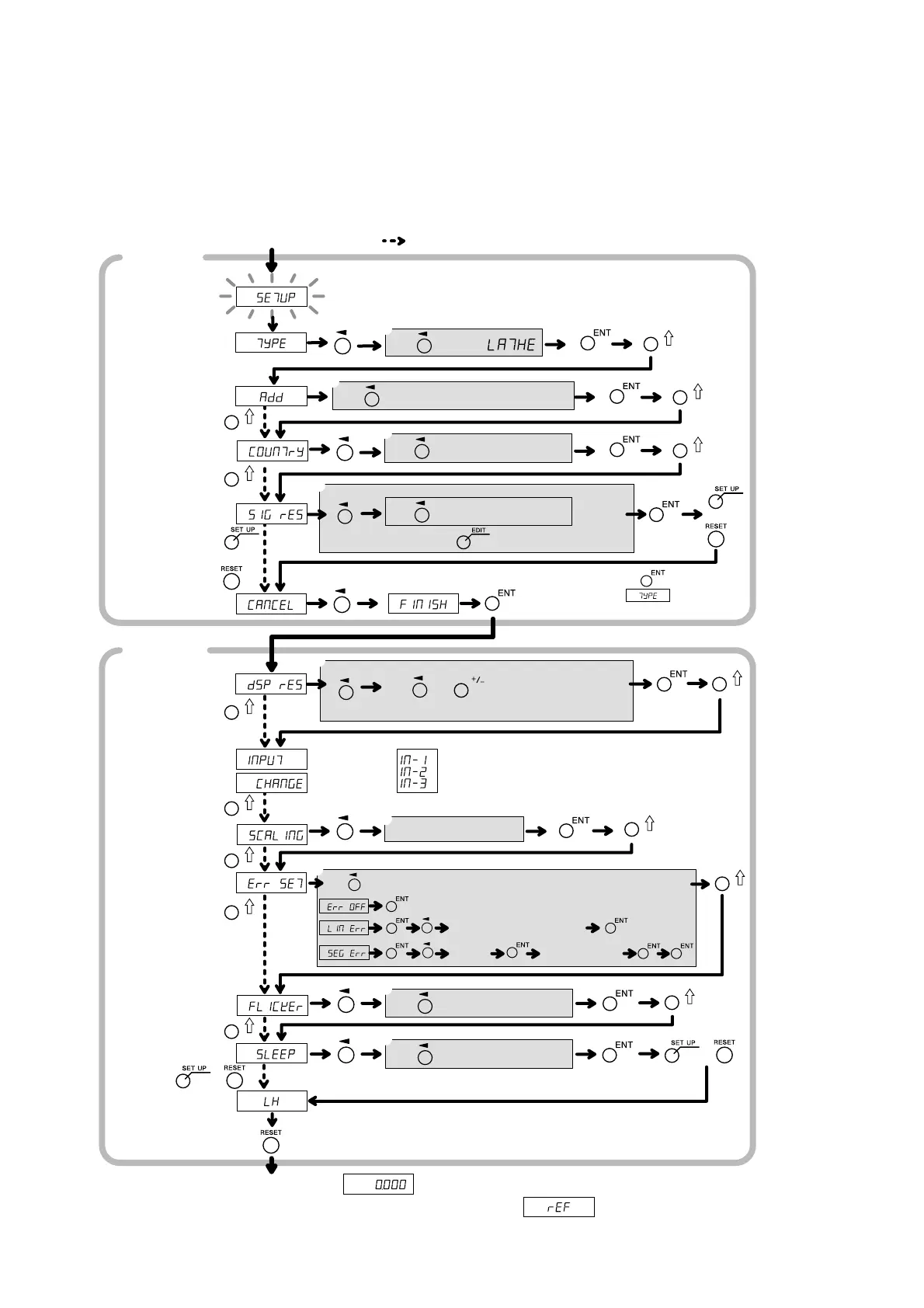
5-3. Lathe Function Settings
5-3-1. When Power is Turned On for the First Time after Factory Shipping
(LH71A lathe function and LH72)
q Select LATHE
(LH71A only)
The LH72 does
not have a
model setting.
w 2/3/2ADD3/
2ADD3/
2ADD3/
2ADD3
See Part 5-4,
Verifying Count
Values during
Addition
Display.
e STD/US/JPN
r 0.1/0.5/1/5/10/
00.00.01/
00.00.10/
00.01.00/
00.10.00
<Expanded>
0.05/2/20/25/
50/100/
01.00.00
t Setting at r or
higher/Diameter
display at r
(except for
angle)/Polarity
The X-axis
polarity should
be set so that
the value of the
cutting direction
decreases when
using diameter
display.
y 0.100000 -
9.999999
u OFF/LIN Err/
SEG Err
See Part 5-5,
Compensation.
i OFF/1/2
o OFF/1/5/10/30/
60
5. Settings

Table of Contents

Related product manuals