EasyManua.ls Logo

Magnescale LH71A - Resetting the Detailed Settings (LH71 A Lathe Function and LH72)

Default Icon
Print Icon
To Next Page IconTo Next Page
To Next Page IconTo Next Page
To Previous Page IconTo Previous Page
To Previous Page IconTo Previous Page
Loading...
LH71A / LH72
(E) 5-9
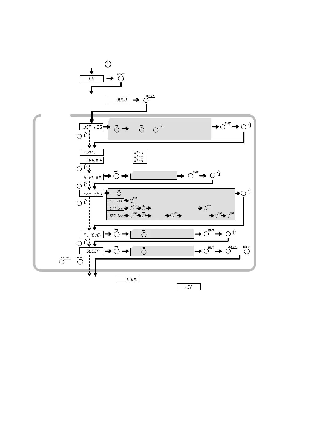
5-3-3. Resetting the Detailed Settings (LH71A lathe function and LH72)
q Setting at
measuring unit
resolution or
higher/Diameter
display at
measuring unit
resolution
(except for
angle)/Polarity
The X-axis
polarity should
be set so that
the value of the
cutting direction
decreases when
using diameter
display.
w 0.100000 -
9.999999
e OFF/LIN Err/
SEG Err
See Part 5-5,
Compensation.
r OFF/1/2
t OFF/1/5/10/30/
60
(Note)
Use at
Select axis
Enter the setting value
Detailed
settings
Scaling
Display
resolution
Compensation
value
Flicker control
Sleep
Power ON
Current value display
or
or
Start of operation
(When the display resolution is 0.001 mm)
When the segmented error compensation value is set, is displayed,
the unit switches to reference point acquisition mode.
Use and to select setting content
Performed for each axis.
Use to select the setting (compensation), and then set each option
Enter the compensation value
Enter the
compensation value
Enter the
position
Select axis
Use to select setting content
Use to select setting content
q
w
e
r
t
5. Settings

Table of Contents

Related product manuals