EasyManua.ls Logo

Magnescale LH71A - 汎用用途 フライス盤仕様の設定; 工場出荷後 最初の電源On時 (Lh71 A汎用用途 フライス盤仕様)

Default Icon
Print Icon
To Next Page IconTo Next Page
To Next Page IconTo Next Page
To Previous Page IconTo Previous Page
To Previous Page IconTo Previous Page
Loading...
5-4 (J)
LH71A / LH72
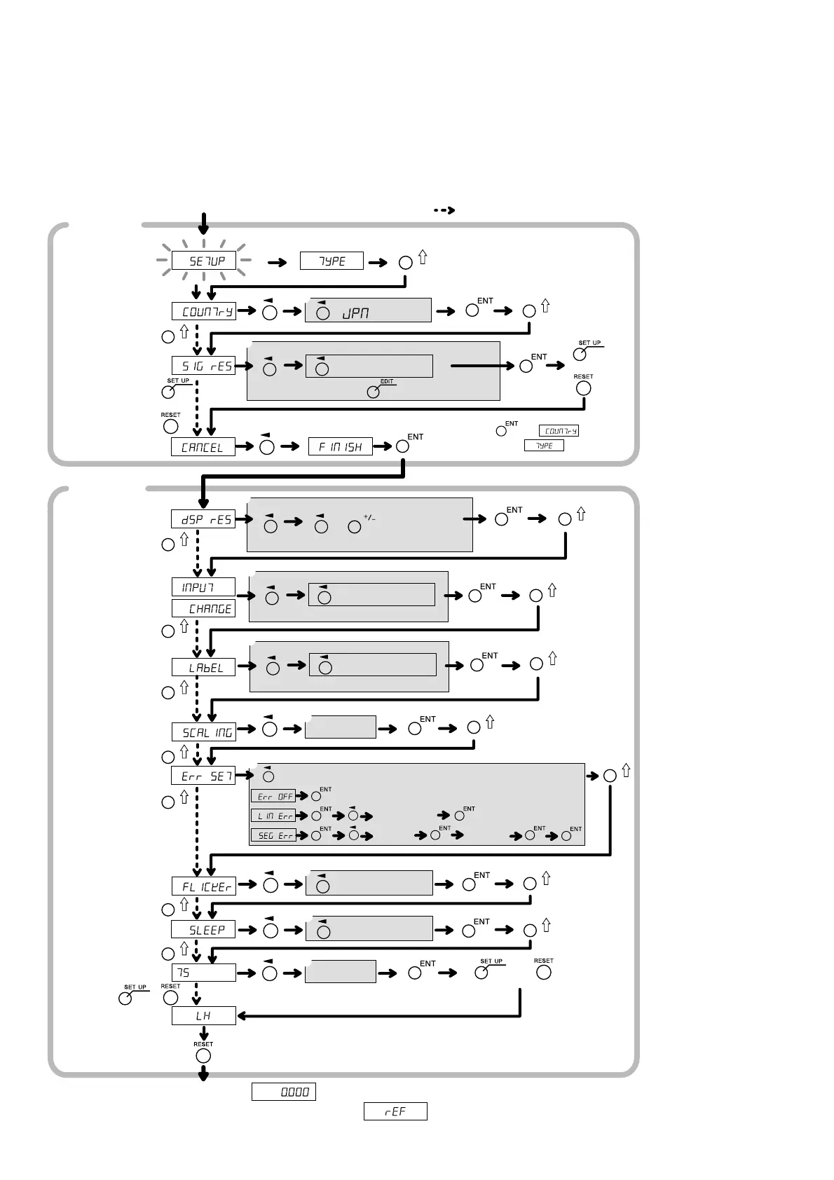
5-2. 汎用用途、フライス盤仕様の設定
5-2-1. 工場出荷後、最初の電源ON時(LH71A汎用用途、フライス盤仕様)
q JPNを選択
w 0.1/0.5/1/5/10/
00.00.01/
00.00.10/
00.01.00/
00.10.00
<拡張>
0.05/2/20/25/
50/100/
01.00.00
ewの設定以上/
wの倍表示(角
度除く)/極性
r IN-1/IN-2/IN-3/
IN-
t X/Y/Z
y 0.100000〜
9.999999
u OFF/LINErr/
SEGErr
「5-5.補正に
ついて」参照
i OFF/1/2
o OFF/1/5/10/30/
60
!0 1.0000〜
20.0000
q
w
e
r
t
y
!0
u
i
o
または
電源ON
基本設定
使用開始
(表示分解能0.001mmの場合)
詳細設定
機種
仕向地
(STD)
スケーリング
(1.000000)
測長ユニット
分解能
(1)
表示分解能
(測長ユニット
分解能)
表示入替え
(1-1,2-2,3-3)
2軸、3軸モデルのみ
1軸、2軸モデルのみ
軸ラベル
切替え
(1-X,2-Y,3-Z)
補正値
(OFF)
ちらつき防止
(2)
スリープ
(OFF)
タッチセンサ
半径
(5.0000)
*設定項目の()内は出荷時設定
*は設定変更不要の場合の流れ
*区間誤差補正を設定した場合は、    が表示され、原点取得モードに入ります。
軸選択
各軸に対して行なう。
または
または
注1
1軸/2軸
モデル
3軸
モデル
注1:   で
  または    に戻る
約2秒
と  で設定内容選択
軸選択
でを選択
で設定内容選択
軸選択
で設定内容選択
軸選択
設定値入力
設定値入力
で設定内容(補正)選択後、各選択内容の設定
補正値入力
補正値入力
位置入力
軸選択
で設定内容選択
で設定内容選択
で設定内容選択
で選択内容拡張
または
各軸に対して行なう。
各軸に対して行なう。
各軸に対して行なう。
5.設定

Table of Contents

Related product manuals